所有新闻
百度 谷歌 雅虎 必应 搜狗 搜搜
公司 产品 导购 样本 名片 视频 图片 新闻 技术 黄页
技术为王的时代,快一步就是胜利
1
2017立达纺机技术交流会成功召开,新一代自动抓棉机、智能化纺纱设备狂吸睛:
1978年,立达革命性创新了自动抓棉技术理念,开创了自动抓棉机UNIfloc A1开始的新清花工艺流程。多年来立达持续开发出多代满足市场需求的自动抓棉机。2017年4月,立达新一代自动抓棉机UNIfloc A12正式投放市场,最高实际产量超过2 000kg/h为自动抓棉机设定了新的行业标准。与会者纷纷表示昌吉溢达的高度自动化,智能化程度令人印象深刻,可谓智能化纺织工厂新标杆。
2
卓郎纺机纤维梳理技术展会受瞩目,市场欢迎度空前:
卓郎(常州)纺织机械有限公司在2016年ITMA亚洲纺机展上展出了适应于处理高含杂及机采棉原料的JSC328新型节能梳棉机及清花系统。JSC328梳棉机产量可达180公斤/小时,更有效去除高含杂原料中的细小杂质,提高生条质量。在去除杂质率提高10%的同时,能耗可降低10%。
3
五洋纺机“经编智能生产线管理系统”上央视,智能车间引起行业热议:
五洋纺机自主研发了“经编智能生产线管理系统”,并通过鉴定,达国内领先水平。“经编智能生产线管理系统”通过对生产线组成装备的每个运作环节进行全程的数据采集、传输和控制,实现生产过程的全面信息化管理。目前这套系统已经广泛运用到五洋纺机几十家客户,为整个经编行业迈向智能化,信息化做出了贡献。
在如今技术创新为王的互联网时代,技术革新能够为企业和产品打开巨大的经济链,这项定律也在纺机市场表现的尤其明显。
2017年,随着市场的深度调整,淘汰落后促进高端化进程已成为常态,环保节能高效短流程数字化监控与智能化作为印染机械的发展方向,引领着印染机械企业开拓更广阔的市场。由于拉幅定型机的适用面广,应用于定型机在线监测远程监控余热回收自动滤网清洁等技术是今后定型机生产的发展方向,更加适应市场及环保的需求。
目前,印染企业加工1吨针织布约需煤1.5吨,其中定形机约占了40%。以拥有10台定形机的中等规模印染企业为例,仅定形工段的年耗电量就达800万度,而欧洲发达国家同等规模企业,由于采用先进的定形设备及控制技术,其定形工段年耗电量仅为我国的62%左右,能耗差异巨大。
日前,国家专利局公告了一种拉幅定型机/烘干机用的自动滤网清洁装置-回转式滤网装置,它包括烘箱组,驱动装置,滤网及回转装置,吸尘装置。滤网及回转装置置于每一个热交换器的上方,驱动装置提供动力。烘箱体内有热交换器,通过循环热风将布料烘干/定型。为防止毛绒等杂物聚集在热交换器上引起着火或者堵塞热交换器表面致使热交换效果不佳,本发明在热交换器上方设置了滤网回转装置及防尘罩装置,通过吸尘装置定期自动将毛绒等杂物吸出烘箱体外,达到自动清洁节能环保安全防火的目的。同时减轻了劳动者的劳动强度,生产产品质量更加稳定,结构简单更易维护。
热风拉幅定型机/烘干机存在以下二个行业痛点:
一是机器经常发生着火现象,主要是烘箱内高达二百多度的高温引发堆集的毛绒或者油污着火;
二是聚集的毛绒杂物堵塞了除尘过滤网大大降低了热能转换效果。
发明专利回转式滤网装置很好地解决了上述痛点,网带及防尘罩防止毛绒跌落到热交换器上引起火星;通过滤网装置将毛绒杂物定期吸出烘箱体外,防止聚集成堆/成层的毛绒漫燃着火(即使少数几根毛绒冒了火星也不至于能着火漫燃),解除了机器在热交换器附近着火的安全隐患。同时畅通的热风循环通道使热交换效果大大提高,达到节能减排的效果。
更为重要的是,传统的手动抽拉平网装置因不能及时清理毛绒网,致使过滤网的过风量处于极不稳定的状态,烘箱内的风压也是忽高忽低极不稳定,导致相同工艺条件下产品的品质一致性也不稳定,影响布料的品质不稳定。而回转式滤网装置技术能及时清理掉毛绒网层,不会产生堵塞过滤网眼的情况,因而过滤网的过风量是稳定的,产品品质也是稳定的。
目前,浙江远信集团已经生产出了另一种自动滤网装置的定型机,很好地解决了毛绒自动清理难题。来自《环球纺机》的报道,远信定型机“植入一项新技术,就加价30万,把一台定型机卖出宝马范儿,今年以来,浙江远信机械有限公司订单多到不敢接。”,“独家技术创新带火了销售。”,同时新机器“节能20%以上,效率提高15%以上”。足见自动滤网清洁技术的功用很大。可以预见,在不远的将来,自动滤网清洁技术必将成为拉幅定型机/烘干机的标准配置,就象智能手机的标准配置普遍采用指纹识别/人脸识别一样。我们希望,回转式滤网装置这项新技术能尽快应用于定型机/烘干机,并得到大力推广。也许在2017年11月的上海纺机展上,我们就能领略到它的风采。
编者按
2017的纺机市场有喜有悲,环保风暴下部分中小企业因为缺乏技术支持,只能面临被时代淘汰的结局。扼腕的同时我们应该意识到在这个互联网高速时代,技术创新、专利产品不仅能够为企业节约耗能及资金,还是企业在业内立足的根本。随着一带一路的深入,越来越多的企业选择海外战略,然而对缺乏技术专利的企业来说,保证机器在海外的销路仅靠低价是远远不够的。甚至可以说没有技术的支持,企业将寸步难行。家中有粮,心中不慌,我们有理由相信,这项专利技术在不久的将来会被广泛应用于工业4.0的发展和纺机智能化应用,为纺机甚至整个纺织产业链带来更多惊喜和机遇。
附发明专利信息:
专利名称:回转式滤网装置
专利类型:实用新型专利
申请(专利)号:ZL201621174793.x
申请(专利权)人:唐祎
申请日期:2016年10月27日
公开(公告)日:2017年5月10日
法律状态:公开,实质审查的生效
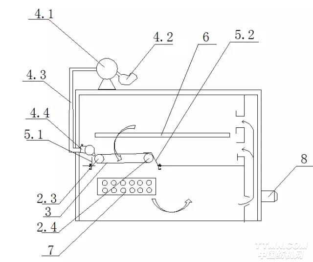
附图及说明:
4.1-吸尘机,4.2-收集袋,4.3-吸管,4.4-带吸尘口的吸管,5.1,5.2-防尘罩,2.4-主动滚筒,2.3-从动滚筒,3-过滤网带,7-热交换器,6-布料,8-循环风鼓风机。
无锡二橡胶股份有限公司
面向顾客,持续改进,实施品牌战略,必须是
网址:http://www.wxrb2.com
常州市润源经编机械有限公司
经编未来 无限可能
网址:http://www.run-yuan.com/
青岛云龙纺织机械有限公司
云展云舒,龙行天下 并人间品质,梳天下纤维
网址:http://www.yunlongfj.cn/
黄石经纬纺织机械有限公司
印染机械 首选黄石经纬 印花机 丝光机 蒸化机
网址:http://www.hsjwfj.com/
解决技术难题、提升产品稳定性,宜昌经纬纺机QC小组喜获优秀奖! 青岛宏大与许昌裕丰成功签订8.4万锭托盘式自动络筒机,携手挺进新疆 我国面料对东盟北美出口均有所增长 整个纺织服装行业发展的主要趋势与重要方向 立达最新纺纱箱S35有效节约原料
重庆金猫携多种新产品参加本届ITMA亚洲展 业务量同比增长超70%,经纬榆次逆势而上靠什么? 壕砸1.3亿收购美国一家大公司,已购的徳司达年狂赚1亿美元,浙江龙盛真牛! 管理创新是纺织行业提质增效的必由之路 中棉行协赴武汉调研,当地纺企大佬齐“上诉”!棉花“抛储”是焦点!
震惊!曾投资百亿上演“空城计”、今半年产值4个亿!咸阳纺织业强势回归,“梦桃精神”永存! 沭阳县纺织产业“织”出“强县富民”产业链 咸阳纺织业回来了 产业用纺织品行业年中报告:保持增长效益持续改善 纺机人,生意再难做,深耕自己的行业也比转行靠谱!