条机的机构及其作用
1.喂入机构
条子进入牵伸机构前的导条机件统称为喂入机构。以FA302型并条机为例,FA302型并条机采用高架式顺向喂入导条机构,由导条罗拉、分条叉、集束板和断条自停装置等组成。除高架式喂入机构外,还有平台式喂入机构。
2.牵伸机构
并条机的牵伸一般由罗拉牵伸装置来完成,FA302型并条机采用导向辊压力棒三上三下牵伸机构,如图5-2所示,由罗拉、胶辊,压力棒、加压装置和清洁装置等组成。
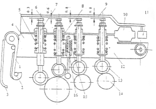
图5-2导向辊压力牵伸装置
1-前罗拉2-导向辊3-前胶辊4-压力棒
罗拉是牵伸机构的重要部件,又称下罗拉,表面通常成螺旋形沟槽,螺旋角为5°。胶辊又称上罗拉。胶辊和罗拉组成牵伸握持钳口,靠罗拉摩擦传动。FA302型并条机的胶辊有导向辊和前、中、后胶辊共4根,其中导向辊和前胶辊同时受前罗拉摩擦运动。
压力棒是一根不回转的扇形金属棒,装在主牵伸区内,它的弧形边缘和须条接触,迫使须条受压形成曲线通道,起到附加摩擦力界的作用。压力棒的前后位置和高低位置,可根据纤维长度和工艺要求进行调节。其插口座和中罗拉座连在一起。当纤维长度在40㎜以下时,压力棒放在后插口,同时取下前插口;当纤维长度在40㎜以上时,压力棒放在前插口,如图5-3(甲)所示。压力棒的高低位置靠更换调节环直径来调节,调节环的直径越大,压力
图5-3压力棒前后插口和调节环
1-前插口2-后插口3-中罗拉座4-调节环5-压力棒
棒的位置越高,须条的受压减弱,反之则增加对须条的压力,如图(乙)所示。另外,有些并条机上还使用间歇回转上压式圆形压力棒以及固定下托式弧形或扇形压力棒等多种形式,在工艺上各具有自己的特点。
加压装置在FA302型并条机上采用的是摇架弹簧加压装置,由摇架、加压弹簧等元件组成,如图5-4所示。加压时,将摇架向下压,使加压钩钩住短轴
图5-4摇架弹簧加压装置
1-加压钩2-加压钩短轴3-加压手柄4-摇架体5-加压弹簧
6-自停螺钉7-加压芯轴8-蝶形簧9-自停臂10-磁铁11-微动开关
12-摇架支座13-后胶辊14-后罗拉15-压力棒加压弹簧16-压力棒加压芯轴
簧则通过加压芯轴施压于胶棍和压力棒上。卸压时,扳起手柄,使加压钩脱离加压钩短轴,在蝶形的平衡力作用下,整个摇架自动向上抬起,停留在操作的位置。
3.成形机构
成形机构是将集束器吐出的束状须条进一步凝集成条,并有次序的盘入棉条筒中,便于下一工序继续加工。成形机构包括集束器、喇叭头、紧压罗拉、圈条装置、棉条筒以及条筒底盘等机件。
(1)圈条装置
圈条装置主要由圈条盘4、底盘6、斜管1和齿形带3等部件组成。如图5-5示,棉条从紧压罗拉2输出后,通过回转较快的圈条盘4的引导进入棉条筒5,由于圈条底盘的缓慢回转,使棉条有规律地盘入棉条筒内。并条机的成形与梳棉机的成形相同,按圈条直径相对于条筒直径的不同分为大圈条、小圈条两种形式,两种形式各有其特点。由于并条机输出速度高,圈条速度也高,纺化纤时,因静电现象显著,易堵塞斜管而引起断头。因此,根据棉条的运动轨迹为近似螺旋线的空间曲线,将斜管制成圆柱螺旋型曲线或空间曲线型斜管。
图5-5圈条盘及圈条成形
有的高速并条机圈条盘采用曲线斜管,成形良好。圈条盘采用悬挂式结构,使用超轻型滚动轴承和国际标准同步齿形带,下圈条传动通过两组三角带轮传到地轴。
4.辅助机构
(1)清洁装置
清洁装置的作用是在运转过程中清除牵伸部分的尘屑、飞花,使牵伸正常进行。清洁装置一般有两种形式:摩擦式集体吸风自动清洁系统和回转绒布套和真空吸风清洁系统。
(2)自停装置
并条机均有电气式或机电式自停装置。在机后条筒中棉条用完或发生断头时,当发
(3)有的并条机还附有满筒定长装置和自动换筒装置,由单独的电动机传动。
(4)圈条器增容装置
国外广泛采用了有增容装置的圈条器,使条筒单位体积的条子容量得以增加,条子密度的均匀度得到改善。
相关信息 







推荐企业
推荐企业
推荐企业