假捻装置
假如捻度保持不变,假捻装置及其回转速度是假捻变形加工的核心。因此,在过去50多年中,研究人员在高速假捻装置方面做了大量努力。总的说来,假捻变形纱机所用的假捻装置分为两类:
(1)转子式假捻装置(假捻管)或磁性转子假捻装置;
(2)摩擦式假捻装置。
一、转子式假捻装置
转子式假捻装置带动纱线同速回转,假捻器回转一转,纱线形成一个捻回。因此,纱线捻度取决于假捻器转速和纱线移动速度之比。只要假捻器转速恒定,纱线捻度恒定。假捻器自动提供捻回形成所需要的扭矩。
最早用于假捻变形纱机的转子式假捻器是滚动轴承式的,转速为4.5×104r/min,变形加工速度受到假捻器转速的限制。现在,磁性转子假捻器的转速可达100×104r/min,最高转速可达1.2×107/min以上。
转子式假捻装置由转子和皮带轮组成。最简单的假捻转子将复丝在横销上卷绕一圈,转子回转时带动复丝一起回转,如图7—9所示。这样的结构确保假捻器旋转时对复丝进行加捻。
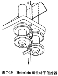
20世纪60年代后期至70年代早期,开发了磁性转子假捻器,转速高达80×104r/min。假捻小转子安装在两个回转的罗拉之间,并靠磁力固定。图7—10所示为Heber-lein磁性转子假捻器。
从变形纱质量看,转子式假捻器比其他假捻装置要好。这是因为:即使在张力变化较大的情况下,转子式假捻器均可保证变形纱的加工均匀性。但是,转子式假捻器严重限制了变形加工速度,最大的加工速度在280m/min到350m/min之间,而摩擦盘假捻装置的加工速度为800m/min到1500m/min,这使得转子式假捻器加工不经济。因此,目前大多数变形加工中已不再使用转子式假捻器。
二、摩擦式假捻装置
顾名思义,摩擦加捻是纱线与旋转面接触并通过摩擦作
图7—11所示为摩擦加捻原理和典型的摩擦假捻器。纱线穿过摩擦管的内表面或摩擦盘的外表面,通常为一组摩擦管或摩擦盘。摩擦管的内径或摩擦盘的外径比纱线直径大得多,这意味着摩擦管或摩擦盘每转一周可在纱线上形成若干个捻回(忽略纱线打滑)。因此,纱线能以较高的线速度喂入,而摩擦假捻器的回转速度可相对较低。大多数情况下,纱线在张力作用下紧靠摩擦假捻器的摩擦面,由摩擦面的转动在纱线上产生扭矩,因此形成捻度。但是,摩擦加捻的一个最大缺点是在加捻过程中会产生大量打滑,加捻效率只有50%左右。纱线与摩擦面之间打滑,会影响纱线捻度和加工张力。因此,与转子式假捻器相比,摩擦假捻加工的变形纱卷曲不均匀。但是,由于摩擦假捻的加工速度高,因此,现在全世界使用最广泛的是摩擦假捻装置。
1.三轴摩擦盘假捻器
相关信息 







推荐企业
推荐企业
推荐企业