真捻原理在成纱工艺中的应用
一、非自由端真捻成纱
(一)翼锭纺纱
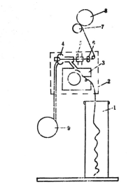
1.粗纱机的加捻过程
粗纱机是靠锭翼回转对纱条进行加捻的,如图9-17所示。
当锭翼每转一周时,由锭翼侧孔带动粗纱绕其本身轴线自转一周,使锭翼侧孔至前罗拉钳口的一段纱条上获得一个捻回。
2.粗纱加捻区的捻度分布
将图9-17展开成图9-18
图9-18粗纱加捻过程示意图
根据稳定捻度定理及捻陷、阻捻和假捻应概念,可以求得图中各段纱条上的捻度。
(二)环锭纺纱
环锭纺纱被广泛用于各种纺纱的细纱工序和捻线工序。
倍捻机工作过程
倍捻机伸头


为了降低断头,应采取以下主要措施:
(1)尽可能地降低纺纱张力平均值或者尽量提高纺纱强力平均值。
(2)降低张力和强力的波动范围。
2.细纱断头的分类
按断头的位置不同,细纱断头可以分为成纱前断头和成纱后断头两类。
(1)一落纱中的断头分布:一般是小纱断头最多(50%左右),中纱断头最少(20%左右),大纱断头次之(30%左右)。
(2)成纱后的断头多发生在纺纱段。
(3)随着锭速减加或者卷装的加大,张力加大,断头增加。
(4)由于机械的原因,少数锭子可能出现重复断头。
另外,当天气变化或者温湿度波动以及配棉成分变化时,都会引起断头增加。
二、自由端真捻成纱
(一)转杯纺纱
棉纺纺纱的加捻,
毛纺中也有采用。
1.转杯纺的加捻过程
2.加捻区内的捻度分布及其影响因素
在转杯纺纱机上,阻捻盘既是假捻点,又是捻陷点,阴止捻回自O向P传递。将图9-41展开成图9-42,根据稳定捻度定理及假捻、捻陷和阻捻的概念,可以求得图中各段纱条上的捻度。
3.成纱结构及其机械物理性质
转杯纱
(二)无芯摩擦纺纱
1.无芯摩擦纺的加捻过程
如下图所示
2.成纱结构及其物理机械性质
摩擦纺纺织的纱具有捻度分层结构特点,纱芯捻度较外层大,形成内紧外松的特殊结构,因而纱的表面较丰满和蓬松,伸长率较高,吸湿性、染色性和手感均较好。但由于纤维伸直度差,排列较紊乱,且内外层转移少,故强力较低,约为环锭纱的70%左右.
(三)涡流纺纱
1.涡流纺的加捻过程
(四)静电纺纱
静电纺纱是利用静电感应原理,使纤维定向、凝聚、排列、伸直,并靠空心管的回转加捻成纱的,适宜加工棉、麻等回潮率较高的纤维,可纺制纯棉纱或棉麻混纺纱等。

相关信息 







推荐企业
推荐企业
推荐企业