喂棉机构的分析
精梳机的喂棉部分包括承卷罗拉、给棉罗拉及其传动机构。其作用是在每一个工作循环中喂给一定长度的棉层,供锡林梳理。
(一)喂棉机构
1、承卷罗拉
承卷罗拉有两种回转方式:一是间歇回转式,如A201系列精梳机;采用此种方式喂棉,高速时承卷罗拉的冲击大,且给棉量难以控制。二是连续回转式,如SXF1269A型精梳机;此种方式适应精梳机的高速运转。
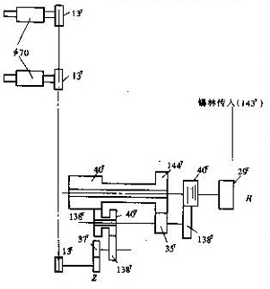
SXF1269A型精梳机的承卷罗拉传动机构如图4-4-1所示。主传动油箱中的副轴通过过桥轮系和喂棉调节轮系Z,以链条传动承卷罗拉慢速回转退解棉层。由于承卷罗拉连续回转,当给棉罗拉不给棉时,承卷罗拉仍在喂给,加之给棉罗拉随钳板摆动,从而引起棉层张力呈周期性的波动,为了稳定棉层张力,SXF1269A型精梳机的承卷罗拉与给棉罗拉之间装有一只偏心张力轴2,如图4-4-2所示。偏心张力轴由钳板摆轴传动。偏心辊大半径转向棉层,使承卷罗拉3输出的棉层因输送距离增加而被“贮存”起来,当给棉罗拉4给棉时,偏心辊小半径转向棉层,棉层因输送距离缩短而被“释放”出来,从而补偿了因连续喂棉和钳板摆动引起的棉层长度变化,使棉层张力稳定。当给棉方式不同时,偏心张力轴支座6上的螺钉5处于水平位置时所对应的分度值不同,前进给棉为13分度,后退给棉为15分度。
图4-4-1SXF1269A型精梳机的承卷罗拉传动机构
图4-4-2 SXF1269A型精梳机棉层张力补偿装置
由图4-4-1可求得每钳次承承卷罗拉的喂棉长度L1为:
4-1-1
式中:Z为给棉罗拉至承卷罗拉间的张力牵伸变换齿轮齿数,在S
2、给棉罗拉
SXF1269A等新型精梳机均采用单给棉罗拉机构,与双给棉罗拉机构相比,对须丛的抬头、棉网的分离接合及精梳机的高速有利。在新型精梳机上,有两种给棉方式;一种是钳板在前摆过程中给棉,称为前进给棉;另一种是后摆过程中给棉,称为后退给棉。精梳机的给棉方式不同,则给棉机构亦不同。
SXF1269A型精梳机配有前进给棉机构(见图4-4-3)和后退给棉机构(见图4-4-4)供选用,以适应各种精梳产品的不同质量要求和落棉控制。采用前进给棉机构,当钳板前进时上钳板逐渐开启,带动装于上钳板上的棘爪将固装于给棉罗拉轴端的给棉棘轮Z2拉过一牙,使给棉罗拉转过一定角度而产生给棉动作;当给棉罗拉随钳板后摆时,棘爪在棘轮上滑过,不产生给棉动作。如果采用后退给棉,可换上后退给棉机构,如果4-4-4所示;当钳板后退时上钳板逐渐闭合,带动装于上钳板上的棘爪将固装于给棉罗拉轴端的给棉棘轮Z2撑过一牙,使给棉罗拉转过一定角度而产生给棉动作;当给棉罗拉随钳板前摆钳口打开时,棘爪在棘轮上滑过,不产生给棉动作。

图4-4-3前进给棉机构 图4-4-4后退给棉机构
精梳机每钳次的给棉长度A可根据给棉棘轮齿数Z2及给棉罗拉直径利用下式计算:
当给棉方式及给棉棘轮齿数Z2不同,计算得到的给棉长度A、给棉罗拉至承卷罗拉间的张力牵伸倍数E1见表4-4-1。
表4-4-1SXF1269A型精梳机给棉长度与张力牵伸
Z |
Z2 |
L1 |
A |
张力牵伸e1 |
44 |
16 |
5.39 |
5.9 |
1.09 |
45 |
16 |
5.28 |
5.9 |
1.12 |
49 |
18 |
4.85 |
5.2 |
1.08 |
50 |
18 |
4.75 |
5.2 |
1.10 |
51 |
18 |
4.64 |
5.2 |
1.12 |
55 |
20 |
4.31 |
4.7 |
1.09 |
56 |
20 |
4.23 |
4.7 |
1.11 |
相关信息 







推荐企业
推荐企业
推荐企业