气阀
控制主、辅喷嘴定时喷射的部件是气阀,气阀按其驱动原理分为机械阀和电磁阀两类。前者用控制凸轮来完成气阀的启闭;后者则以算机的指令,由电子脉冲讯号转换成阀门的开闭动作来完成。机械阀的调整不便,易磨损,控制气流的精度差,目前已被电磁阀替代。电磁阀的启闭频率很高,在高速运行的喷气织机上,每引入一根纬纱,电磁阀需要启闭一次,一次启闭动作在数毫秒时间内完成,因此要求电磁阀具有灵敏的高速响应特性和准确的时间控制特性。
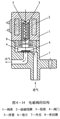
图6—14为一种电磁阀的结构,励磁线圈2通电时,衔铁3在电磁引力的作用下上升,阀门4和垫片6被提升,气路开通,喷嘴开始喷射气流;励磁线圈2断电后,衔铁3在弹簧5的作用下复位,阀门关闭,从而关断气路。
电磁阀以电磁感应驱动阀门芯,动作灵敏,调节简便,使用寿命长,已成为喷气织机计算机智能控制引纬的关键机件。新型引纬的特点是闭环控制,它的探测系统将纬纱飞行到达的信息传送至计算机,经计算机比较和判断后给出下一纬的喷射时间和供气气压,自动调整引纬参数,以稳定纬纱的飞行,提高织物质量。
电磁阀的开启、关闭滞后时间是衡量电磁阀灵敏性的指标,开启滞后时间是从电路刚一接通,到输出压力上升到输入压力90%时的时间;关闭滞后时间是从接到关闭电信号到压力下降到原来的90%的时间。电磁阀把电脉冲信号转换成机械动作,机械动作的响应在时间上会滞后于电信号,而气路接通又滞后于机械动作是造成启闭滞后的原因。电磁阀的输出压力曲线如图6—15所示,时间t1和t2越小,电磁阀越灵敏,其高速响应特性越好。压力曲线中的阴影部分反映的是无效气流,因此压力曲线越接近矩形,越能减少电磁阀启闭造成的气耗。
JAT型织机的电磁阀采用过励磁技术,开启时,先加过励磁电压(48V),以减少初始输入气压从0升至输出气压90%的时间,即减少电磁阀开启时间的滞后响应时间;电
在制定引纬工艺参数时,主喷嘴和辅助喷嘴实际喷射气流的启、闭时间(或称始喷、终喷时间)常以主轴的角度表示,它是根据纬纱飞行所需要的控制气流设计的。电磁阀的滞后性造成喷嘴的启、闭时间与电磁阀的启、闭时间存在差异:
电磁阀的开启时间(°)=喷嘴的开启时间-电磁阀的开启滞后时间(6-1)
电磁阀的关闭时间(°)=喷嘴的关闭时间一电磁阀的关闭滞后时间(6-2)
这里,电磁阀的开启与关闭滞后时间的单位已从毫秒转换成角度,它受主轴转速的影响。例如,若织机主喷嘴电磁阀的开启滞后时间为6ms,在织机主轴转速为500r/min时,滞后时间占主轴的转角是18°。而当主轴转速上升到600r/min时,滞后时间占主轴的转角变为21.6°。如果设定主喷嘴气流的开启时间是80°,则电磁阀在转速为500r/min时的开启时间为62°(80°-18°),而在600r/min时为58.4°(80°-21.6°)。
在开、闭滞后时间一定的条件下,电磁阀的启、闭时间可由式(6—1)、式(6—2)计算。因此,下面只讨论喷嘴开启、关闭时间的制定。在计算机控制的喷气织机上,通过程序设计,可使喷嘴的启闭时间与电磁阀的启、闭时间相对应,从而方便引纬工艺参数的设计。
相关信息 







推荐企业
推荐企业
推荐企业