梳棉机之锡林与盖板
任务:
继续开松成单纤维
清除残杂
去除短绒和棉结
纤维纵向定位
1.盖板(Flats)
100~110根,用链条联结成环状,沿圆弧状曲轨缓慢移动。
40~46根盖板形成分梳区,其余为空程。
2.锡林与盖板的针齿配置——平行配置
按分梳作用配置
盖板针面对锡林针面形成倾斜度,使纤维进口处大,出口处小;
因为V锡>>V盖,锡林抛出杂质沉积在盖板针面上,排出机外;
从分梳原理讲,盖板与锡林运动可以同向,也可异向。
对于异向,清洁盖板从道夫侧进入分梳区,向后移动,边移边被纤维充塞,其承载能力逐渐减小,但除杂能力仍充分。杂质能被立即除掉,获得清洁棉网,提高成纱质量。
3.锡林与盖板的隔距
锡林与盖板隔距宜小不宜大;隔距过大,降低分梳除杂效果,且有浮游纤维在针面间往复搓擦而会生成棉结。
盖板花由斩刀剥下;
锡林需定时抄针(5~10天)
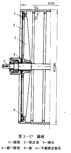
4.锡林设计要求
材料:铸铁或钢板卷焊
组成:滚筒、堵头、芯轴
大锡林f1290,小锡林f706
转速300~500r/min,双列向心球面滚动轴承;
小锡林转速>大锡林转速,离心力大,除杂能力强,向道夫转移纤维能力提高,但刺辊直径相同时,小锡林抓取弧长S小,抓取和伸直纤维能力差于大锡林;
小锡林针面上纤维分布不如大锡林均匀,易产生棉网云斑;
小锡林转速高,棉结、短绒增加;
故高产梳棉机用大锡林。
5.锡林刚度
锡林与刺辊、盖板、道夫间隔距小(0.1~0.2mm);
锡林几何误差、动不平衡、包针布产生中凹变形会影响隔距,造成纤维转移变化,棉网不匀、条干恶化。
提高锡林刚度的方法: <
筒体内壁铸有圆环形加强筋或网格形加固筋;
为减小筒体内凹,可将锡林筒体两端在包针布前磨斜成圆锥体,或更改法兰盘(堵头)设计,使其和圆环形筋有相同的刚度。
6.锡林筒体挠曲变形计算
包针布后受分布载荷
采用材料力学公式,取一条单位宽度
例如:无加固圆环筋时,筒体最大变形>0.06mm;有加固筋时最大变形<0.02mm。
相关信息 







推荐企业
推荐企业
推荐企业