整经断头自停装置
一般筒子架上每锭都配有断头自停装置,整经断头自停装置的作用是当经纱断头时,立即向整经机车头控制部分发信号,由车头控制部分立即发动停车。高速整经机对断头自停装置的灵敏度提出了很高要求,要求在800~1000m/min整经速度下整经断头不卷入经轴,从而方便挡车工处理断头。因此为尽早检测,断头自停装置安放在整经筒子架的前部,断头自停装置还带有信号指示灯。当纱线发生断头时,自停装置发信号关车,同时指示灯指示断头所处的层次位置,便于挡车工找头。整经断头自停装置的作用原理主要有电气接触式和电子式两种。
(一)电气接触式断头自停装置
电气接触式自停装置有两种常见的形式。第一种自停装置十分简单,纱线断头后经停片因自重下落,接通导电梗1、2,使控制回路导通发动关车,如图2-12(a)所示。这种自停装置容易堆积纤维尘埃,引起自停动作失灵。
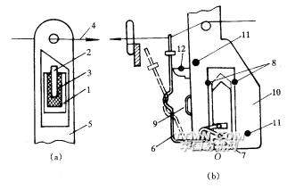
图2-12电气接触式断头自停装置
1、2-电极棒3-绝缘体4-经纱5-经停片6-自停钩
7-铜片8-铜棒9-指示灯10-架座11-杆12-分离棒
第二种自停装置的断头信号传感元件是自停钩6。纱线断头时自停钩下落,铜片7上升,使铜棒8接通并发动关车,如图2-12(b)所示。这种装置带有胶木防尘盒,有一定的防飞花尘埃作用,但结构比较复杂。
接触式电气自停装置的电路导通元件接触表面会氧化,接触电阻增加,长期使用后自停装置灵敏度会下降。断头关车失灵是这类自停装置的常见故障。
(二)电子式断头自停装置
电子式整经断头自停装置又可分为光电式和电容式两种。光电式电气自停装置具有较高的断头自停灵敏度和准确率,该装置采用红外线发光二极管作为发射源,接收部分采用与发光管波长接近的光敏三极管。由成对的红外线发射器和接收器在每一层纱线下部形成一条光束通道。当纱线未断时,经停片由纱线支承于光路
电容式整经断头自停装置的感测部分为一V形槽电容器,整经机正常运行时,纱线紧贴V形槽底部运动,由于纱线运行及表面不平整的抖动,电容器产生的电信号类似“噪声信号”,一旦发生经纱断头,这种“噪声信号”消失,控制电路立即发动关车。
相关信息 







推荐企业
推荐企业
推荐企业