浆纱综合讨论
一、浆纱过程的自动控制
浆纱过程的自动控制主要包括浆纱机上经纱张力、压浆辊压力、浆液温度、浆液液面高度、烘筒及热风温度、浆纱回潮率、上浆率等工艺参数或质量指标的自动控制以及调浆系统的自动控制。经纱张力自动控制已在第三节“上浆”一节中作了详细介绍,下面就另一些控制项目简单介绍。
(一)压浆辊压力自动控制
浆纱速度变化时,为维持上浆率不变,压浆辊压力要作相应调整。实现这一功能的自动控制系统分气动和液动两类。典型的气动式自动控制原理如图3-38所示。
测速辊1带动测速发电机2转动,将纱线速度转换成电压信号并输入到控制器3。控制器3的电路参数已由调节器4、5分别根据高速和低速时工艺规定的压浆辊压力作了相应的预设定。浆纱过程中,气缸6、7上部空气压力决定了压浆辊加压力的大小,该压力通过压力传感器8转换成电压信号,电压信号输入到控制器3后,控制器3根据预设定参数及当前的车速和压力,发出控制信号。控制信号控制三种压浆辊的压力变化状态:(1)浆纱速度不变,二位三通电磁阀9、10均不工作,压浆辊维持原有压浆力不变;(2)浆纱速度提高,电磁阀9的线圈通电,电磁阀10断电,压缩空气经电磁阀9、单向节流阀11、12分别充入气缸6、7上部,使压浆辊压力增加;(3)浆纱速度降低,电磁阀10通电,电磁阀9断电,气缸6、7上部的压缩空气经单向节流阀11、12、电磁阀10、消声器13排到空气中,压浆辊压力减小。压浆辊压力由数码管14显示。经自动调节之后,压浆辊的压力和浆纱速度符合预设定的相关关系。
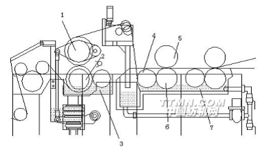
(二)浆液温度自动控制
浆槽蒸汽加热采取直热式和间热式两种,间热式蒸汽加热的浆液温度自动控制原理如图3-39所示。浆液温度由电位计1进行预设定,温度传感器2把当前浆液温度转换成电压信号输入到控制器3,并与电位计1的预设定电位进行比较。然后,由控制3发出控制信
浆液液面高度通常以溢浆方式加以控制。循环浆泵不断地把浆液从预热浆箱输入到浆槽,过多的浆液通过溢流板流回预热浆箱,从而自动维持一定的液面高度。这种方式控制正确、可靠,较长时间停车过程中浆液仍在在循环流动,不易产生浆液结皮和沉淀等现象,并且结构简单,液面高度调节十分方便,因此应用非常广泛。但是,循环浆泵的机械剪切力作用对浆液粘度稳定存在一定的不利影响。
另一种为直接补给式浆液液面高度自动控制,该方式使用不多,其工作原理如图3-40所示。在浆槽1的壁上装有高位电极2和低位电极3,由于浆液本身是导电体,当液面低于低位电极时,低位电极不通,控制器4使二位三通电磁阀5的线圈导通,压缩空气经减压阀6、电磁阀5,进入薄膜阀7上方,打开薄膜阀,浆液经薄膜阀流入浆槽,于是浆液面上升。当液面上升到高位电极2时,电极导通,控制器4切断电磁阀5的线圈电流,阀位改变,薄膜阀内压缩空气经电磁阀5、消声器8排空气中,薄膜阀关闭,停止供浆。自控系统的工作使浆液液面位置在高位电极和低位电极之间很小的距离内波动。
(四)烘筒及热风温度自动控制
烘筒及热风的温度自控原理与浆液温度自控原理基本相同。
烘房的热风温度容易测量,控制系统根据当前热风温度和设定温度的差异,调节薄膜阀通往散热器的蒸汽量,控制散热量,使热
(五)浆纱回潮率自动控制
在浆纱回潮率自动控制系统中,对回潮率的检测有四种方法:电阻法、电容法、微波法和红外线法。其中,用电阻法检测,以改变浆纱速度来进行回潮率自动控制的形式采用较多。其工作原理如图3-41所示。
纺织材料的导电性能随含水量不同而有所差异,在一定范围内,浆纱回潮率W与浆纱电阻符合如下关系:
W=A+B·lgR(3-12)
式中:R—浆纱电阻(MΩ);A、B—常数,由纤维种类、纱线密度等确定。
随着浆纱回潮率的变化,浆纱电阻发生变化,通过浆纱的电流也相应变化。变化的电流在控制仪中放大并转换成电压信号,该信号与预设定的回潮率电压相比较,然后由控制电路发出脉冲信号,控制浆纱机升降速装置作升速或降速,使湿纱通过烘燥区域的时间缩短或延长,从而控制浆纱回潮率。
(六)浆纱上浆率的自动控制
影响浆纱上浆率的因素很多,譬如浆液浓度、粘度、温度、浆纱机的速度、压浆辊压力、浸没辊位置等,生产过程中,一般以这些因素为检测和控制对象,通过固定或调整这些影响因素来实现浆纱上浆率稳定的目的。
目前,采用以下几种检测原理,直接对浆纱上浆率进行在线检测。
利用β射线在线测定原纱和浆纱的绝对干燥重量,然后计算并显示浆纱上浆率。
应用微波测湿原理,对浆纱的压出回潮率Wi和原纱回潮率Wj进行连续测定,仪器根据公式:
(3-13)
计算并显示浆纱上浆率S。公式中的D为浆液总固体率,由人工定期测并输入到上浆率测定仪。可见,仪器测得的浆纱上浆率尚不能真正反映其连续变化过程。
浆纱上浆率的控制主要通过控制压浆辊压力来实现,亦有采用改变浆槽中浆液浓度和浆液温度的方法。考虑到浆液温度和浓度调整过程中的延时因素,为加快调整速度,可以使用小型浆槽,尽量减少浆槽中的浆液量。
(七)调浆系统的自
自动调浆系统由计算机监控完成各项调浆操作。其主要功能有:自动配料和装料;定量加水控制;煮浆时间和煮浆温度控制;调浆不同阶段中搅拌器速度的控制;浆液温度和粘度的连续在线检测;操作流程的控制和显示;自动记录调浆日期、时间以及有关质量指标,如粘度、温度等。
典型的自动调浆系统如图3-42所示。调浆桶1的供水和供汽系统分别由水管、盘形水表2、电磁阀3和汽管、温度传感器4、电磁阀5组成。搅拌器6的搅拌速度可从350~1700r/min无级调速。在人工配料及装料之后,计算机根据预设程序定量加水,并控制完成各项调浆操作,浆液调制完毕后,输浆泵7自动开启,浆液被输入供应桶8中,开始对浆槽9供浆。供应桶的搅拌速度由计算机控制。以温度传感器10、自调阀11及汽管所组成的供汽系统,在计算机控制下改变供应桶夹层内蒸汽输入量,维持预定的供浆温度。各项调浆参数的设定旋钮、控制按钮和流程显示均集中安装在控制箱12的面板上,既方便操作,又能对调浆过程一目了然。
二、长丝上浆
合纤长丝为疏水性纤维,织造过程中要尽量减少导纱部件对经丝的摩擦,减少毛丝和静电的产生。在前织设备上通常装有静电消除装置或适量给油,以消除加工过程中所产生的毛丝和积聚的静电。
合纤长丝上浆决定着织造加工的成败。根据合纤长丝的特点,上浆工艺要掌握:强集束,求被覆,匀张力,小伸长,保弹性,低回潮率和低上浆率。上浆率应视加工织物品种不同而有所差异。上浆通常采用丙烯酸类共聚浆料,为克服摩擦静电引起丝条松散、织造断头,在经丝上浆时采取后上抗静电油或后上抗静电蜡措施,以增加丝条的吸湿性、导电性和表面光滑程度。用于上浆加工的合纤长丝含油率要控制在1.5%以下,过高的含油将导致上浆失败。
合纤长丝的受热收缩性能决定了上浆及烘燥的温度不宜过高,特别是异收缩丝,高温烘燥会破坏其异收缩性能。烘燥温度要自动控制,保证用于并轴的各批浆丝收
低捻长丝(如粘胶人造丝等)需通过上浆加工来提高其织造性能。经丝先由分条整经机制成经轴,再在烘筒式浆丝机上加工成浆轴。经丝的上浆方式有两种:如经丝不接触浆液液面,仅在上浆辊和压浆辊之间通过,称为蘸浆。如经丝进入浆液液面以下,在上浆辊与压浆辊之间呈“S”形绕过,则称为浸浆。烘筒式浆丝机采取单轴上浆形式,即一只经轴浆成一只浆轴,工艺流程很短,见图3-43所示。
由于流程短并且经丝在烘燥前后均不受分绞作用,所以经丝断头少,排列均匀、整齐,伸长也小。其缺点是经丝之间产生粘连,因此局限于上浆率不高、织物经密较低、浆槽内覆盖系数较小的经丝上浆,上浆后经丝之间的轻度粘连不至影响织机上经丝的清晰开口。为减少长丝之间的粘连现象,提高浆膜完整性,烘燥装置亦可采用先热风后烘筒、经丝分层的烘燥方式。无捻长丝(如锦纶,涤纶无捻长丝)的捻度极小(0.1~0.2捻/m左右),纤维之间集束性很差,而且一般用于高经密织物的织造,为此上浆时要特别加强纤维的集束性,避免长丝的相互粘连。通常,无捻长丝的上浆加工采取整浆联合的工艺路线见图3-44所示,这是一种两阶段的加工系统。
在整浆联合机上,各根长丝之间保持很大的间距(1.5mm左右),在相互分离的状态下进行上浆。长丝出浆槽后,经过一至二个热风烘房的分层预烘,在浆膜基本形成之后再由烘筒进一步烘干。因此,经丝的圆度和浆膜完整性很好,其织造性能大大提高。如津田驹KSH系列高速长丝浆纱机,长丝上浆后先在二个热风烘箱中以无接触方式预烘,再经五个烘筒烘燥,从而可使丝的表面保持光滑和丝本来的圆形断面。为实现“单丝”上浆,降低浆槽内经丝的覆盖系数,整浆联合机所卷绕的浆轴上经丝根数设计成很少(800~1200根),因此还需在并轴机上将几只浆轴并合成一只浆轴。该工艺路线的缺点是生产效
在两阶段系统中,由于整经断头引起的停车会影响浆纱质量、降低设备效率,因此目前亦有使用整浆分离的三阶段加工工艺路线,见图3-45所示,经丝的加工分整经、轴对轴上浆、并轴三阶段完成。与两段加工工艺路线相比,三阶段加工工艺路线流程长、占用机台多、生产成本高。鉴于国产长丝的质量,为避免整经断头的停车影响浆纱质量,国内普通采用三阶段加工工艺路线。
三、靛蓝染浆联合加工
靛蓝劳动布(俗称靛蓝牛仔布)的经纱染浆加工流程有以下几种:
分批整经、染浆联合加工;球状整经、绳状经条染色、分纱拉经、上浆;分批整经、经轴染色、上浆;绞纱染色、绞纱上浆、分条整经,即小经小浆工艺流程;松式筒子染色、倒筒、分批整经、上浆,即大经大浆工艺流程。
目前,前两种加工流程应用较为广泛。第一种染浆联合机加工的流程短、生产效率高。从产品质量来看,第二种流程由于球经、绳状染色、轴经上浆法的靛蓝染色均匀、稳定,纱束经分纱、拉经、上浆加工后,兼有“混和”的特点,因此成布横向色差小,外观均匀平整,手感柔软舒适,但此法工艺流程长、设备多、占地大、生产费用也高。
靛蓝染浆联合机的工艺流程如图3-46所示。在气动张力装置控制下,经纱从经轴上退绕下来,经1至3只水洗槽作润湿纱线,清洗棉杂、棉蜡或预染处理。由于靛蓝染液的上染率较低,不易被纤维吸收,因此经预处理后的纱线需通过4至6道染槽及透风架的反复浸、轧、氧化,才能获得理想的色泽效果。其中每道加工包括:10~20s的染液浸渍,压榨力可作无级调节的轧辊轧压,1~1.5min的空气氧化。染色后的经纱通过1至2只水洗槽洗涤,并由烘筒式烘燥装置作染色的预烘,使染料进一步固着在纱线上。然后,经纱由单浆槽或双浆槽上浆,经烘筒烘干,在最后卷绕成浆轴之前,经纱
提高分批整经的整经轴加工质量,减少倒、断、绞头是为了保证染联合机既能正常运行,又不发生停车或减速,这不仅提高了设备的效率,而且有利于克服由停车或车速快慢变化所造成的染色色差。
四、浆纱工艺设计原理
(一)浆纱工艺设定与调整
浆纱工艺设定的任务是根据织物品种、浆料性质、设备条件的不同确定正确的上浆工艺路线,实现浆纱工序总的目的和要求。制定浆纱工艺的主要原则如下:
浆纱工艺设定的主要内容有浆料的选用、确定浆液的配方和调浆方法、浆液浓度、浆液粘度和pH值、供浆温度、浆漕浆液温度、浸浆方式、压浆辊加压方式和重量、湿分绞棒根数、烘燥温度、浆纱速度、上浆率、回潮率、总伸长率、墨印长度、织轴卷绕密度和匹数等。
关于浆料的选用和确定浆液配方的依据及方法,在本章第二节已经叙述,现将其它有关参数的设定叙述如下。
1.浆液浓度和粘度
(1)浆液浓度
上浆率随着浆料的组成、浆液浓度、上浆工艺条件(压浆力、压浆辊表面硬度、上浆速度)等因素的不同而变化。在同一浆料和上浆工艺条件不变的情况下,浆液浓度与上浆率成正比例关系。在原纱质量下降、开冷车使用周末剩浆、按照生产需要车速减慢、蒸汽含水量增加等情况下,应适当提高浆液浓度。
(2)浆液粘度
一般情况下,浆液粘度低,则渗透多,粘附在纱线表面的浆液少,而高粘度浆液则相反,纱线的渗透少而表面被覆多。
2.浆液使用时间
为了稳定和充分发挥各类淀粉的粘着性能,一般采用小量调浆,用浆时间以不超过2-4小时为宜,化学浆可适当延长使用时间。
3.上浆温度
上浆温度应根据纤维种类、浆料性质及上浆工艺等参数制定。实际生产中有高温上浆(95℃以上)和低温上浆(60~80
4.压浆辊的加压重量和加压方式
(1)压浆辊的加压重量
压浆力的大小取决于压浆辊自重和加压重量,一般粗特纱,经密高,经纱捻度大,压浆力应适当加重;反之,对细特纱可适当减轻。为了浆纱机节能和提高车速,目前已逐渐采用重加压工艺,最大压浆力可达40KN。
(2)压浆辊配置
对于双压浆辊压力配制的两种方式前面已叙述,先重后轻和先轻后重各自的侧重点不同。应该指出的是双压浆辊中起决定性作用的是靠近烘房的压浆辊(即第二只)。从压出回潮率的大小来看,前一种配置方式大于后者。因此,压浆辊配置工艺应根据具体情况和需要而定。
5.浆纱速度
浆纱速度的确定与上浆品种、设备条件等因素有关。在上浆品种、烘燥装置最大蒸发量、浆纱的压出回潮率和工艺回潮率已知的情况下,浆纱速度的最大值可用下式计算:
Vmax=G(1+Wg)·106/〔60·Tt·m(1+S)(W0-W1)〕(3-14)
式中:Vmax——浆纱速度;G——烘燥装置的最大蒸发量(Kg/h);
Wg——原纱公定回潮率;)Tt——经纱线密度
m——总经根数S——上浆率
W0——浆纱压出回潮率W1——
浆纱的速度应在浆纱设备技术条件的速度范围内,通常浆纱机的实际开出速度为35~60m/min
6.上浆率、回潮率和伸长率
(1)上浆率的大小与纱线线密度、织物组织和密度、所用浆料性能等因素有关,上浆率的确定要结合长期生产实践经验。表3-19为一些棉织物在使用不同浆料时的上浆率参考范围。
表3-19棉织物上浆率参考数据
织物种类 |
纱线线密度 |
上浆率% |
|||
Tex |
英支 |
淀粉浆 |
混合浆 |
化学浆 |
|
粗平布 |
58-32 |
10-18 |
7-9 |
4-5.5 |
2.5-3.5 |
中平布 |
29-22 |
20-26 |
7-11 |
4.5-7 |
3-4 |
细平布 |
19-23 |
30-44 |
10-15 |
6-10 |
4-6 |
特细平布 |
12-9.5 |
48-60 |
15-17 |
8-11 |
|
稀薄织物 |
12-7 |
48-60 |
13-16 |
7-10 |
|
纱府绸 |
29-14.5 |
20-40 |
10-15 |
6-12 |
4-9 |
纱哔叽 |
42-25 |
14-23 |
7-10 |
4.5-6 |
3-4 |
纱斜纹 |
32-28 |
18-21 |
7-9 |
4.5-6 |
2.5-4 < |
纱华达呢 |
32-28 |
18-21 |
7-10 |
5-6 |
3-4 |
半线华达呢 |
16*2-14*2 |
36/2-42/2 |
|
|
0.2-2.5 |
纱卡其 |
48-28 |
12-21 |
8-11 |
4-7.5 |
3-4 |
半线卡其 |
16*2-10*2 |
36/2-60/2 |
0.5-1.0 |
|
0.5左右 |
全线卡其 |
J10*2-J7*2 |
J60/2-J80/2 |
4-6 |
3-4 |
1.0-2 |
纱直贡 |
29-18 |
20-32 |
9-11 |
6-7 |
|
横贡 |
J14.5 |
J40 |
12-14 |
7-8 |
5-6 |
麻纱 |
18-16 |
23-36 |
10-13 |
5.8-7 |
|
注:1.纯淀粉浆系指用99%的玉米淀粉、小麦淀粉。
2.混合浆系用PVA等分别与淀粉按不同百分比混合使用。
上浆率一般以检验退浆结果和按工艺设定的允许范围(表3-20)考核其合格率。
表3-20上浆率允许误差
上浆率% |
6以下 |
6-10 |
10以上 |
允许误差 |
±0.5 |
±0.8 |
±1.0 |
(2)回潮率
回潮率的大小取决于纤维种类、经纬密度、上浆率高
表3-21各种浆纱的回潮率
纱线品种 |
回潮率% |
棉浆纱 |
7±0.5 |
粘胶浆纱 |
10±0.5 |
涤棉混纺浆纱 |
2-4 |
(3)伸长率
经纱在上浆过程中必然会产生一定量的伸长,伸长率的控制要求越小越好。
表3-22伸长率参考数据
纤维种类 |
伸长率% |
纤维种类 |
伸长率% |
纯棉纱 |
1.0以下 |
涤棉混纺纱 |
0.5以下 |
棉维混纺纱 |
1.0以下 |
纯棉及涤棉股线 |
0.2以下 |
粘胶纱 |
3.5以下 |
|
|
7.浆纱墨印长度
浆纱墨印长度Lm可用下列公式计算:
Lm=Lp/[n(1+aj)](3-15)
式中:Lp——织物的公称联匹长度(m);N——联匹中的匹数;
aj————考虑了织物加放长度后的经纱缩率(比织物分析的实际缩率略大);
(二)浆纱工艺参数实例
浆纱工艺参数项目及实例见表3-23
表3-23浆纱主要工艺参数实例
工艺参数 |
品种 |
||
14.7*14.7棉府绸 |
13.1*13.1涤棉府 绸 |
||
未熟浆温度时浓度(0Be) |
500C时,3±0.2 |
|
|
工
艺 |
浆槽浆液温度(0C) |
98 |
95 |
浆液总固体率 |
9 |
9 |
|
浆液PH值 |
8 |
8 |
|
浸压方式 |
单浸双压 |
双浸双压 |
|
浸浆尺寸(mm) |
432 |
550 |
|
压浆辊包卷方式 |
棉绒两块,毛毯、细布各一块 |
橡胶压辊 |
|
压浆辊自重(Kg) |
弹簧加压,130 |
气动加压 |
|
湿分绞棒数 |
3 |
3-5 |
|
烘燥形式 |
热风式 |
热风烘筒联合式 |
|
烘房温度(0C) |
120 |
120 |
|
卷绕速度(m/min) |
30 |
50 |
|
每缸经轴数 |
10 |
12 |
|
浆纱墨印长度(m) |
40.7 |
123.2 |
|
质
量 |
上浆率(%) |
玉米淀粉浆,13±1.0 |
PVA为主混合浆,10±1.0 |
回潮率(%) |
7±0.5 |
3 |
|
伸长率(%) |
0.7 |
0.5 |
|
六、浆纱的产量与浆纱疵点(包括浆丝疵点)
(一)浆纱的产量
浆纱的产量以每小时每台机器加工原纱的重量(kg)计,分为理论产量G′和实际产量G。理论产量的计算公式为:
(3-16)
式中:M——织轴总经根数;v——浆纱速度(m/min);
Tt——纱线线密度(tex)。
浆纱实际产量:G=K·G′(3-17)
式中:K——时间效率。
(二)浆纱疵点
浆纱疵点有很多种类,不同纤维加工时有不同的浆纱疵点产生。下面仅就具有共同性的一些主要浆纱疵点进行介绍。
1.上浆不匀
由于浆液粘度、温度、压浆力、浆纱速度的波动以及浆液起泡等原因,使上浆率忽大忽小,严重者形成重浆和轻浆疵点。重浆会削弱经纱的弹性,引起织机上经纱脆断头,布面呈树皮皱状,并且落浆增加。轻浆对生产的危害更大,轻浆起毛使织机上经纱相互粘连断头,生产无法正常进行。
2.回潮不匀
烘房温度和浆纱速度不稳定是回潮不匀的主要原因。浆纱回潮率过大,浆纱耐磨性差,浆膜发粘,纱线易粘连在一起,使织机开口不清,易产生跳花、珠网等疵布,同时断头也增加,而且纱线易发霉;回潮率过小,则浆膜发脆,浆纱容易发生脆断头,并且浆膜易被刮落,使纱线起毛而断头。
3.张力不匀
引起张力不匀的原因有很多,譬如各整经轴退绕张力不匀,全机各导纱辊不平行、不水平,浆轴卷绕中点不位于机台中心线上以致纱片歪斜等。张力不匀对织机梭口清晰度、经停机构的工作等都带来不利影响。反映在织物成品质量上,张力过小者形成经缩疵点,过大者产生吊经疵点。
4.浆斑
浆液中的浆皮、浆块沾在纱线上经压榨之后形成分散性块状浆斑。另外长时间停车之后,上浆轴与浆液面接触处粘结的浆皮会沾到纱片上,形成周期性横条浆斑。
5.倒、并、绞头
整经不良,如整经轴倒断头、绞头等,浆纱断头后缠绕导纱部件会产生浆轴倒断头疵点。整经轴浪纱会增加纱线干分绞的困难,从而引起纱线分绞断头,形成并头疵点。穿绞线操作不当,以致纱线未被分开,也是产生并头疵点的主要原因。纱线卷绕过程中搬动纱线在伸缩筘中位置及断头后处理不当、落轴割纱及夹纱操作不当会造成绞头疵点。倒、并、绞头对织造的影响很大,给穿筘工作带来困难,在织机上会增加吊经、经缩、断经、边不良等织疵。
6.松边或叠边
由于浆轴盘片歪斜或伸缩筘位置调节不当,引起一边经纱过多、重叠,另一边过少、稀松,以致一边硬、一边软,又称软硬边疵点。织造时边纱相互嵌入容易断头,并且边经纱张力过大、过小,造成布边不良。
7.墨印长度不正确、流印、漏印
这是测长打印装置工作不正常或调节不当所引起的疵点,影响织机上落布工作,造成长短乱码。
8.油污
导纱辊轴承处润滑油熔化后沾在纱片上,浆液内油脂乳化不良上浮,清洁工作不当等都是油污疵点的成因。严重的油污疵点要造成织物降等。
生产中(主要是棉织)以好轴率指标对浆轴的疵点情况进行考核,好轴率定义见“上浆的质量指标及其检验”。
七、高压上浆
压浆辊的压浆力分为常压(10kN以下)、中压(20~40kN)和高压(70~100kN)三种。高压上浆是美国WestPoint公司在1978年推出,并被其它公司竞相效仿的一种高效上浆技术。高压上浆技术的应用使浆纱速度大为提高,能量节约十分显著,并且上浆质量也有所提高。
(一)浆纱压出回潮率和浆液总固体率的关系
经纱通过浆槽上浆后,未经烘房烘燥的时的回潮率称为浆纱压出回潮率。压出回潮率Wi
(3-18)
式中:Wj——经轴上经纱回潮率(%);Y——经纱干重(kg);
m——浆纱的浆料干重(kg);G——经纱上浆时吸入的水分重量(kg)。
对应的经纱上浆率:
(3-19)
假设经纱吸附浆液的浓度和浆槽中浆液浓度相等,则浆液的总体固体率
(3-20)
于是,烘燥装置烘干单位重量(1kg)干经纱所需蒸发水分量(kg)
Q=(Wi-W)(1+s)=S(1-D)/D+Wj-W(1+s)(3-21)
式中:W——浆纱回潮率(%)。
根据公式3-23在经纱回潮率Wj和浆纱回潮率W确定的条件下,得到S,D和Q三者的关系如图3-47所示,当上浆率S一定时(10%),浆液总固体率D的增加使烘干单位重量干经纱所需蒸发水分量Q下降,这意味着烘燥装置的负荷降低,能量消耗可以减少,浆纱速度得以提高。实测22.6tex涤棉经纱(T65/C35,总经根数6828,上浆率9.5%)上浆,当浆液总固体率为7.7%时,烘干每千克干经纱需蒸发水分1.139kg;当浆液总固体率提高到12.3%时,烘干每千克干经纱需蒸发水分量下降到0.657kg。两者的蒸发水分量差异很大,后者使浆纱速度有可能显著提高。

(二)浆液总固体率和压浆辊压力的关系
浆液总固体率的增加使浆纱速度得以增加,同时也导致了浆液粘度的提高,从而对浆纱上浆率和浆液的被覆与浸透程度产生不良影响。为达到适当的上浆率和合理的被覆与浸透程度,必须增加压浆辊压力,采用中压或高压上浆。有关压浆辊压力与上浆质量的关系已经在“上浆与湿分绞”一节中作了详尽介绍。实测的上浆率,总固体率与压浆辊压力三者关系如图3-48所示。曲线表明,当浆液总固体率增加,为保证浆纱上浆率稳
从上述分析可如:提高浆液总固体率,是提高浆纱速度、减少浆纱能量消耗的积极、有效的措施,同时它也促进了高压上浆技术的产生与发展。
(三)高压上浆的有关问题
图3-49表明,当浆液总固体率达以一定数值之后,继续提高总固体率对Q值降低的作用不明显,不可能进一步减少浆纱能耗、提高浆纱速度。这说明浆液总固体率的选择应适当,不宜过高。有观点认为,过高的浆液总固体率必然造成过高的压浆辊压力,以致纱线形状被压扁,并且纱线上浆不匀,还可能损伤压浆辊。沿压浆辊长度方向,单位长度上合理的高压上浆压浆力为98~294N/cm。
与常压上浆相比,高压上浆的浆纱质量有所提高,主要表现为:纱线表面毛羽贴伏,浆液的浸透量明显增加。良好的浆液浸透不仅使纤维之间粘合作用加强,而且为浆膜的被覆提供了坚实的攀附基础。于是表现出浆纱耐磨性能大大改善,见图3-49所示。
适度的高压浆力并不使浆纱的圆度下降。经高压压榨之后,纱线的结构发生压缩,与常压上浆的浆纱相比,其纱线密度有所增加,上浆均匀和纱线结构压密效果使浆纱的织造性能得到改善。以浆纱的断裂强度和断裂伸长来比较,高压上浆和常压上浆之间不存在统计意义上的差别。这说明经高压上浆的纱线中,纤维未受到高压轧浆的损伤。
传统浆料在高浓度时粘度极高,流动性太差,给煮浆、输浆和上浆都带来困难,因此不能用于高压上浆。作为高压上浆的浆料应具有高浓低粘的特点。目前用作高压上浆的浆料有变性淀粉和变性PVA等。
由于压浆辊的加压力施于辊的两端,因此高压浆力会使压浆辊弯曲变形,结果两侧经纱所受压力大,中部经纱受压力小,产生经纱上浆率横向不匀现象,压浆辊越长,不匀现象越明显。见表3-19。
表3-19压浆辊压力与上浆率横向不匀的关系
单位长度上压浆辊压力(N/cm) |
中部与两侧经纱上浆率之比 |
|
辊长98cm |
辊长152cm |
|
78.4 |
1.13 |
1.04 |
104.86 |
1.21 |
1.06 |
131.32 |
1.24 |
1.06 |
为克服上浆率横向不匀,对上浆辊的材质提出了较高的要求,并且辊芯被设计成枣核形,见图3-50所示(为说明设计原理,在图中对施加高压时上浆辊和压浆辊的弯曲程度作了夸张),当压浆辊两端被施加高压力时,由于枣核形辊芯的作用,压浆辊壳体和上浆辊共同发生微小的弯曲变形,使经纱片上浆率能保持横向均匀。
八、提高浆纱产质量的技术措施
近年来,由于对浆纱理论和实践的不断深入研究,以及电子、化工、计算机、自动控制等学科的进一步介入,使浆纱技术得到了迅速的发展。浆纱产质量的技术措施主要反映在上浆、浆液调制和浆料的开发应用三个方面。
(一)上浆技术措施
上浆方面的技术措施可以概括为:阔幅、大卷装、高速高产、低能耗、产品的高质量、生产过程的高度自动化和集中方便的操纵与控制。
为降低浆过程中的浆纱压出回潮率,使用高浓度浆液上浆,采取了高压或中压上浆技术,压浆力随浆纱速度自动调节。这项措施不仅有利于提高浆纱速度,降低浆纱能耗,同时还大大改善了浆纱的织造性能。
纱线张力分区自动控制及显示,使浆纱伸长率得到有力的控制。特别是经轴架区域的气动式退张力调节装置还能有效地控制经纱片的张力均匀程度,减少回丝损失。
目前普遍应用烘筒式(多用于短纤纱加工)或热风烘筒联合式(常作无捻长丝加工)烘燥装置,经纱采取分层预烘的方法,这对于提高烘燥速度和烘燥效率,保护浆膜完整性,增加浆纱耐磨次数起到明显作用。使用链轮积极传动及链条摩擦盘传动的烘筒式烘燥装置可使浆纱伸长率降低到最小。
浆纱及浆液
浆纱机各单元部分实现标准化和组合化,用户可以根据不同的原料、纱线特数、经纱根数以及织造要求,十分方便地对单元部分进行优化选择及组合,既能形成一机多用的通用型浆纱机,也能组成满足某种特殊要求的专用型浆纱机。
在车头的控制板上集中了全机的操纵及电脑质量监控系统。它不仅采集运行数据,存储数据,测算工艺参数,打印记录与产量、质量、效率有关的各种数据,如工作时间、停机时间、机器效率、浆纱速度、浆纱长度、伸长率、上浆率等,还能根据测试数据自动地对上浆过程进行优化,以保证浆纱的高质量。
此外,其他上浆方法也被逐步完善,主要有以下几种。
预湿上浆。预湿上浆见图3-51。纱线在进入浆槽前先经过高温预湿处理,洗掉纱线中的棉蜡、糖衣、胶质物等杂质,再经过高压榨力的挤压,将纱线中的大部分水分和空气压出,改善了纱体中的水分的分布,可减少纱线吸浆,加强了纤维间的抱合,毛羽贴伏,为均匀纱线上浆,提高纱线质量提供了保证。但预湿上浆也存在两个问题:(1)上浆率难以控制。预湿后的纱线水分轧余率难以掌握,尤其对疏水性纤维、疏水性纤维和其它纤维混纺的纱线,其轧余率很难测定,调浆时含固率难以掌握。(2)调浆困难。因为预湿后的纱线一般含有40%~60%的水分,要达到一定的上浆率就必须提高浆液浓度,而提高浓度则粘度增大又影响浆液的渗透。因此,用好预湿上浆技术,还必须进一步研究。在中、粗特纱线的上浆中应用预湿上浆,可以得到减少浆纱毛羽,降低上浆率、节约上浆成本的效果。
图3-51预湿上浆
1-上压辊2-下压辊3-预湿槽4-浸没辊5-压浆辊6-上浆辊7-浆槽
溶剂上浆。这是一种用溶剂(一般为三氯乙烯、四氯乙烯)来溶解浆料(聚苯乙烯浆料)进行上浆的
泡沫上浆。顾名思义,泡沫上浆是以空气代替一部分水,用泡沫作为媒介,对经纱进行上浆的新工艺。浓度较大的浆液在压缩空气作用下,在发泡装置中形成泡沫,由于加入了发泡剂,因此泡沫比较稳定,并达到一定的发泡比率。然后用罗拉刮刀将泡沫均匀地分布到经纱上,经压浆辊轧压后泡沫破裂,浆液对经纱作适度的浸透和被覆。由于浆液浓度大,因而需采用高压轧浆。泡沫上浆过程中,浆纱的压出回潮率很低,为50%~80%或更小,因而起到节能、节水、提高车速、降低浆纱毛羽的明显效果。泡沫上浆的发泡比在5~20﹕1之间,泡沫直径在50微米左右为宜。泡沫要有一定的稳定性,常用的发泡浆料有低粘度级的PVA、丙烯酸浆料、液态聚酯以及这些浆料的混合浆都是易发泡的浆料。
热熔上浆。经纱在整经过程中由涂浆器对其进行上浆。涂浆器由加热槽辊组成,安装于整经车头与筒子架之间。固体浆块紧贴在槽辊上,并被熔融到槽中,当经纱与槽辊的槽接触时,就把熔融浆施加到经纱上。然后,浆液冷却并凝固于纱线表面。其优点是:革除了调浆、浆槽上浆及烘燥等步骤,既缩短了生产流程,又比常规上浆节约能耗达85%;浆纱相对槽辊接触点作同向移动,浆纱速度高于槽辊表面线速度,由于涂抹作用,浆纱表面毛羽得到贴伏,织造性能得到提高。聚合性热熔浆料容易回收,退浆容易,这种方法适合长丝上浆,可以增加丝的集束性,具有减摩、防静电作用。近年来对热熔浆料作了大量研究,主要解决凝固速度慢、上浆后纱线粘连、熔融浆流动性能差、上浆不匀等问题,从而推动了热
除上述外,还有Cutts法上浆、静电喷射上浆、冷法调浆及上浆等技术。
(二)新浆料的研究及开发
随着纤维新品种的不断开发以及织机高速、高效的要求,浆料的研究开发工作也在逐步深入,主要的研究方向有:研制及开发新型的高性能的接技淀粉,以取代大部分或全部PVA浆料,用于各种混纺纱,甚至纯化纤上浆。其目的是充分利用各种天然淀粉资源,降低浆料成本,减小退浆废液的处理难度。研制及开发各种类型的组合浆料及单组分浆料,提高浆料的上浆效果,简化调浆操作,而且有利于浆液质量的控制和稳定。研制及开发满足各种新型织造技术的特殊浆料,如用于喷水织机的水分散型聚丙烯酸酯乳液等。
(三)调浆技术发展趋势
计算机在调浆工序中的应用是调浆技术的主要发展趋势。在浆液调制过程中,每个浆料组分的称量及加入、煮浆时间、温度、搅拌速度、调煮程序都由计算机进行控制,实现全过程的自动化,同时计算机还对浆液的调煮质量进行在线的监控。及时发出相应的信号。这一措施确保了浆液配比的准确性及调制浆液的高质量。在控制台上还设有流程图显示屏和打印装置,可以随时显示调浆进程,打印各种工艺参数及浆液质量指标,为操作和管理带来很大方便。
相关信息 







推荐企业
推荐企业
推荐企业