整经机各类张力装置的技术分析
1前言
整经时为了使经轴获得良好成形和较大的卷绕密度,在整经筒子架上一般设有张力装置(张力器),给纱线以附加张力,设置经纱张力装置的目的是调节片纱张力,即根据筒子在筒子架上的不同位置,分别给以不同的附加张力,抵消因导纱状态不同产生的张力差异,使全片经纱张力均匀。但张力器的性能优劣对整经质量有着直接的影响。本文将对国内外目前使用的各类张力器的结构和特性进行分析探讨,供企业在设备选择及工艺调节时参考。
2张力装置
2.1垫圈式张力装置
图1(a)为传统的垫圈式张力装置,该装置通过改变张力圈4的重量来调节纱线张力,张力装置的输出张力波动较大。双柱压力盘式张力装置如图1(b)所示,它主要通过改变双柱之间的氧化铝张力柱8的位置来改变纱线包围角,从而起到调节纱线张力的作用。这两种均为有柱张力器。无芯柱圆盘张力器如图1(c)所示,该张力器的特点是张力盘无芯柱,国外有的型号甚至纱线改变方向也是用滚动轴承代替普通的导纱棒,因此对输入张力波动几乎无放大作用,属累加型张力器。其结构形式既有单张力盘副的,也有双张力盘副的。一般采用弹簧加压,上张力盘不易跳动,纱线张力波动小、调压方便。由专门的传动装置带动一个张力盘积极慢速转动,可减小张力盘的磨损,井能自动清除飞花杂物。瑞土Benginner整经机
就配用有几种型号的无芯柱圆盘张力器。
图1几种垫圈式整经张力装置
注:1-瓷柱2-张力盘3-绒毡4-张力圈5-纱线6-挡纱
板7-压力盘8-张力柱9-导纱钩10-立柱11-调节轴12-导
纱眼13、13'-上张力盘14、14'-下张力盘15-减震环16、
16'-从动轮17-主动齿轮18-加压弹簧
它是一种设计比较合理的张力装置,第一组张力盘起减震作用,第二组张力盘控制纱线张力。纱线
2.2HH型罗拉张力装置
此装置有两个橡胶罗拉,一个固定,另一个活动,两罗拉均有免修防尘轴承,纱线通过一导纱眼进入罗拉夹,并以90度的偏转角通向机头,纱线张力来源于张力弹簧对活动罗拉的压力,两罗拉均由纱线带动,罗拉周边速度与纱线速度一致,这样可减少张力装置对纱线的磨损。为降低磨损,固定橡胶罗拉可用铝制罗拉代替。该张力装置适用于纱号在180dtex以上的经纱,所有的单丝和人造短纤维均可处理,最大工作速度为800m/min,这种张
力器主要在德国的Hacoba整经机上配用。该张力器的原理是利用具有一定转动惯量的
罗拉副对角速度突变的抑制作用来稳定张力波动,从理论上讲,用罗拉式张力器张力比较稳定、波动小。但国内部分纺织厂使用情况不够理想。
主要表现在:张力调节范围小、操作繁琐;橡胶罗拉磨损变形严重,纱线易跑出,造成“无张力”,严重影响经轴质量,现已由铝制罗拉代替。启制动时纱线张力大且不易控制,断头多。此外对轴承的要求非常高,摩擦系数的一致性和平衡性要好。
当然,罗拉式张力器纱线与罗拉间无滑动摩擦,因此不同的纱线虽有不同的摩擦系数,所产生的张力值也是一致的。这是其它摩擦式张力器所不具备的。只要设计制造和使用得当,才会发挥罗拉式张力器的这一独特优点。
2.3FB型细纱型张力装置
本装置用来处理很细的纱线,导纱机构是一个绞盘罗拉,有几圈纱线绕于其上,罗拉在退绕纱的带动下转动,由于绞盘罗拉的特
2.4T型盘式张力调节装置
该张力装置可在高速条件下处理号数范围宽广的经纱,经纱通过进口纱眼,一组导纱盘和出口纱眼,在偏转45o后导入,由于以一定的角度导入导纱盘,所以灰埃的产生倾向降低了,两导纱盘周期性顺着经纱运动方向被驱动以防止盘面对经纱的磨损,纱盘内的任何沉积物都可能提高上张力盘,从而使纱线张力下降,通过质量平衡角杆,所需纱线张力可以用具有平直特性曲线的弹簧来调节。盘式张力装置适用于纱号在100dtex以上的经纱,如果采用有不同表面结构的盘,则所有已知的连续长丝和短纤维均可加工,其最大工作速度为1200m/min。T型盘式张力器是摩擦盘型张力器,因为其独特的设计,当生产短纤维纱线时飞花会积聚在张力器的内面及外面,利用此专利设计的内部间隙性除尘系统可防止飞花积聚在张力器上。
2.5电磁阻尼张力装置
电磁阻尼张力器是一种新型纱线张力装置,一改通常张力器靠机械摩擦产生张力,而是利用
可调电磁场产生电磁阻尼力对纱线施加张力。如图2所示,它利用可调电磁阻尼力对纱线施加张力。纱线包绕在一个转轮上(转轮半径R),转轮由轴承支承,其摩擦阻尼力距很小。转轮内设有电磁线圈,产生电磁阻尼力距(F×r)施加给转轮。通过改变线圈电流参数即可调节纱线张力的大小(T0、T1分别为纱线进入和离开张力装置的张力,V为纱线速度)。该张力器的最大优点是便于通过改变电参数实现张力自动控制,可通过电脑准确控制纱线张力,张力调节方便,对纱线
图2电磁阻尼张力装置
2.6导纱棒式张力装置
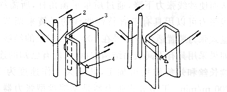
这种张力装置的设置主要是为了调节片纱的张力均匀程度,如图3所示,筒子架每排设有一套导纱棒式张力装置,纱线自筒子引出后,经过导纱棒1、2,绕过纱架立柱3,再穿过自停钩4而引向前方。通过调节导纱棒2的位置来调节导纱棒1、2间的距离大小,从而调节纱线对导纱棒的包围角来改变和控制经纱张力,它只能调节整排经纱张力,不能调节单根经纱的张力。
图3导纱棒式张力装置
2.7梳齿式阻尼张力器
由于简单形式的梳齿张力器会扩大纱线的张力波动,为弥补这一不足,国外发展了一种称为KFD型的梳齿式阻尼张力器。梳齿式张力器属典型的倍积型张力装置,系在导纱棒式张力器的基础上发展而成。KFD阻尼张力器由德国Karl-Mayer公司开发,并成功应用于生产实际。这种张力器主要是靠纱线与曲弧面间的摩擦力产生附加张力,对输入初张力的波动有放大作用。该张力器的技术关键是一套液压阻尼和机械弹簧机构,当纱线张力有变化时,成组的张力杆在拉簧作用下自动改变相对位置进行张力补偿,以使张力回复到设定值。同时由于油液的流体阻尼作用能防止张力的突变,吸收张力峰值,滤平张力波动。因此,该张力器能有效补偿各种因素造成的张力随机变化、平缓张力波动,具有较先进的张力自调匀整功能。当然这种张力器尚存不足,对高频张力波动不能完全消除,造价较高、结构复杂、维修因难。目前国外最新型的KFD张力器系由微机控制,张力调节极为方便,同时阻尼方式已由油液的流体阻尼改成电磁阻尼,使用效果更好。
3结语
随着织造速度的不
片纱形式的第一道工序,实现片纱张力均匀尤为重要,其中张力装置起着极其重要的作用。整经工艺不断向高速发展,这迫切需要配以合适的张力装置。只有了解各类张力装置的原理、特点,才能制订满足生产要求的工艺,从而提高产品的质量。
相关信息 







推荐企业
推荐企业
推荐企业