注:聚氨酯 PA-11;预烘:80℃,4min;焙烘:160℃,4min
表 5 弹性聚氨酯整理剂 PA-11 焙烘温度对苎麻织物刺痒感的影响
Tab. 5 Effect of baking tempreture on ramie fabric prickle based on polyurethane finishing
.jpg)
注:聚氨酯 PA-11 浓度 160g/L;预烘:80℃,4min;焙烘时间 4min
由表 5 可知,随着焙烘温度的升高,苎麻织物的表面性质略有改善。焙烘温度主要影响
聚氨酯的成膜过程,焙烘温度低,交联和成膜过程可能不充分;焙烘温度越高,聚氨酯反应 活性越高,能够发生充分反应,但温度过高时,结合主观感受发现,织物手感会发硬,对降 低刺痒感产生不利影响。
弹性聚氨酯整理对苎麻织物抗刺痒整理的显著效果分析:在焙烘条件下,聚氨酯整理剂 上的活性基团异氰酸酯脱去保护基恢复其超强的反应活性,可迅速与苎麻纤维上的羟基发生 反应,也可与聚氨酯分子上的其它活性基团反应,从而以化学键的形式在织物表面或纤维内 部交联,形成立体网状大分子结构。在苎麻织物表面形成部分包覆,改善织物平滑性、钝化 突出于织物表面的毛羽;同时,聚氨酯整理剂在苎麻纤维和纱线内部形成的交联,可有效提 高织物的可压缩性能。以上作用的综合效果使苎麻织物的刺痒感显著降低。
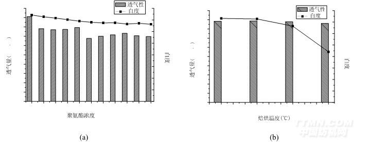
苎麻织物的聚氨酯整理可能会对织物的透气性和白度造成影响。苎麻织物白度和透气性 能随聚氨酯浓度增加和焙烘温度提高的变化情况如图 7 所示。
.jpg)
由图 6(a)可知,经聚氨酯整理剂 PA-11 处理后的苎麻织物白度和透气性能都略有降低,
但变化甚微。白度的结果表明,在适当的焙烘温度下,所选用的整理剂结构稳定,基本不泛 黄;透气性的结果表明,聚氨酯整理剂在纤维、纱线间或在织物表面形成的立体网状结构并 非为连续而致密不透气的聚氨酯膜,因而对织物的透气性能影响不大。由图 6(b)可知,随着 焙烘温度的提高,织物的透气性能未发生明显变化,但织物的白度下降较为显著。由于聚氨 酯的泛黄主要由成分中异氰酸酯发生氧化降解产生的,温度越高,异氰酸酯的反应活性越高, 发生氧化降解的可能性就越大;另一方面,高温焙烘下也可能造成苎麻纤维降解和损伤,对 织物的白度和强力均不利。
综上所述,苎麻织物的弹性聚氨酯 PA-11 抗刺痒整理优化工艺为:二浸二轧(聚氨酯浓 度 160g/L,室温,带液率 100%),烘干(80℃,4min),焙烘(160℃,4min)。
2.2.2 弹性聚氨酯整理苎麻织物的性能和形态结构分析 将苎麻织物的弹性聚氨酯整理优化工艺进行再试验,测试织物刺痒感及透气性能、白度
等如表 6 所示。
表 6 聚氨酯 PA-11 整理前后苎麻织物刺痒感及基本服用性能对比
Tab. 6 Comparison of ramie fabric prickle and breaking strength before and after polyurethane finishing
.jpg)
相关信息 







推荐企业
推荐企业
推荐企业