仲其文,徐传功,孙淮海
1摆布机构的构思摆布机构是印染后整理行业中使用较多的机构之一。它被广泛应用在烫光、烫剪、烘干、拉幅定型等纺织后整理设备上。因为不论是经过刷毛、起毛、剪毛加工后的织物,都必须经过摆布以后,方可转入下道工序进行加工。作为摆布幅度的大小,将会直接影响到车间的现场管理。如果摆布幅度太小,对于同样米数的织物经过摆布折叠后的高度就容易出现倒伏现象。这样,给车间工序间的中转运输和车问正常的生产管理就带来很大的不方便。目前,纺织后整理行业中常用的摆布机构有两种:一种是普通型“曲柄摇杆”式摆布机构;另一种则是“小车”式宽幅摆布机构,即本文将要论述与采纳的一种摆布机构。“曲柄摇杆”式摆布机构,由于采用的是最常见的四连杆机构,无论从设计到制造都省工、省时、省材料,所以目前仍然被广泛采用,但是由于受其结构设计的制约,它的最大摆幅大约只能在在800mm左右,这对于一些要求摆幅在1500mm的后整理场合来说,就不能满足使用现场管理的要求。为此,我们设计了下面由链条构成的“小车”式宽幅摆布机构。并作简单介绍如下(见图1):
图1摆布机构1减速器,2过桥辊,3链轮甲,4链轮乙,5阻尼齿轮,6链轮丙,7连轮丁,8阻尼杆,15挂布轴,16包角导辊,17链轮座,20导布杆
2 宽幅摆布机构的组成输入动力由减速器1(见图1),经过安装在过桥辊2上的链轮甲3,传至安装在阻尼杆8(共2件)上的链轮乙4,与链轮乙4安装在统一阻尼杆8上的阻尼齿轮5,将运动传至链轮丙6,再由链轮丙6将运动传至安装在链轮座17上的链轮丁7,这样由链轮丙6、链轮丁7与链条l2共同组成的环状链条环即可实现旋转运动。在本结构中,织物的穿引路径(进布、出布)如简图1所示,即织物经过过桥辊2、挂布辊15、包角导辊16、导布杆20进入接布装
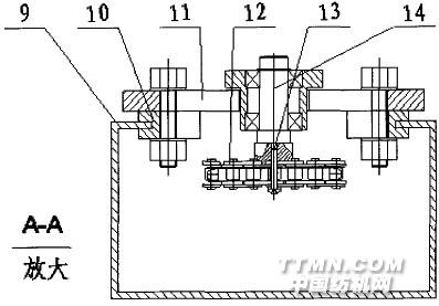
图2链条与轴的连接9横梁,10导向块,11导向板,12链条,13链条销,14循环轴3使用中应注意的问题A 摆布幅宽为L。用户可以在横梁9上的不同位置设置链轮座17的安装孔,即改变中心距L的大小,以达到改变摆布幅宽的目的,实现用户现场管理的需求。B 导向块10与折弯横梁9组成的原设计是滑动摩擦副,用户也可以根据使用频率来改变结构设计,在导向块10的槽内安装小的滚动轴承,变滑动摩擦为滚动摩擦,解决滑动摩擦副易磨损的问题。C 本文叙述的摆布结构,可以在设计需要摆布机构的后整理设备时一同设计,也可以设计成一独立总成,让用户选配。
4结论根据客户现场管理的要求,使用这种链式的后整理宽幅摆布机构解决了堆高易倒伏的问题。为此,我们在给客户在实际需要中增加了一种选择,也为企业的售后服务赢得了好评。
相关信息 







推荐企业
推荐企业
推荐企业