第六节清梳联流程中的辅助设备
在清梳联流程中,除了抓棉工序、开棉工序、混棉工序、清棉工序和梳棉工序以外,还有一些辅助设备。尤其在纺纯棉或棉麻混纺的清梳联流程中经常需要增加一些辅助设备,比如重物分离装置、微尘分离装置、异性纤维分离装置及金属火星探除器、磁铁装置等。下面将郑州纺织机械股份有限公司生产的有关设备和装置做简单的介绍。
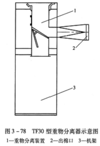
一、重物分离器
1、TF30系列重物分离器TF30系列重物分离器有TF30型和TF30A型两种,现用户使用较多的是TF30A型重物分离器。TF30型重物分离器与A045B系列凝棉器配套使用;TF30A型重物分离器与FA051A系列凝棉器配套使用。
(1)TF30系列重物分离器的主要特点:TF30系列重物分离器无动力、无传动部件,结构简单,使用维护方便。TF30A型重物分离器的落棉量调节板上装有一组永久磁铁,具有去除铁磁性物质的能力。
(2)TF30系列重物分离器的主要结构:TF30系列重物分离器由机架、重物分离装置、出棉口等组成(图3—78);TF30A型重物分离器的落棉量调节板上还装有磁铁装置(图3—79)。
(3)TF30系列重物分离器的技术规格(表3—30)。
表3—30TF30系列重物分离器的技术规格
项目 |
规格 |
|
机型 |
TF30 |
TF30A |
产量(kg/h) |
600 |
800 |
机幅(mm) |
800 |
|
出棉口直径(mm) |
300 |
|
磁铁装置 |
无 |
有 |
外形尺寸[长(mm)×宽(mm)×高(mm)] |
1450× ;1048×2200 |
1750×1248×2200 |
分离器重量(kg) |
约250 |
约300 |
2.TF39系列重物分离器
TF39系列重物分离器有TF39型和TF39A型两种,现用户使用较多的是TF39A型重物分离器,该机单独使用。
(1)TF39系列重物分离器的主要特点:TF39系列重物分离器无动力、无传动部件,结构简单,使用维护方便,还具有结构简单、体积小、重量轻等特点。TF39A型重物分离器还可去除纤维中的部分铁磁性物质,保证整个系统的安全。
(2)TF39系列重物分离器的主要结构:TF39系列重物分离器由机架、重物分离装置、出棉口等组成(图3—80),TF39A型重物分离器在棉道转弯处还装有吸铁装置(图3—81)。
(3)TF39系列重物分离器的技术规格(表3—31)。
表3—31TF39系列重物分离器的技术规格
项目 |
规格 |
|
机型 |
TF39 |
TF39A |
产量(kg/h) |
600 |
|
过棉通道截面尺寸[长(mm)×宽(mm)] |
400×400 |
|
进棉口直径(mm) |
300 |
|
出棉口直径(mm) |
300 |
|
外形尺寸[长(mm)×宽(mm)×高(mm)] |
1380×742×280 |
|
重量(kg) |
约50 |
约55 |
3、TF45系列重物分离器TF45系列重物分离器有TF45型和TF45A型两种,
(1)TF45系列重物分离器的主要特点:TF45系列重物分离器没有动力、无传动部件,结构简单,使用维护方便。该机利用空气动力学原理实现纤维与重杂物的分离,去除重物、大杂的效果好。设有落棉量调节装置,使可纺纤维回收不落白。TF45A型重物分离器取消了落杂小车,将落杂箱的容量加大了数倍,可较长时间清理一次,方便使用。
(2)TF45系列重物分离器的主要结构:TF45系列重物分离器主要由机架、重物分离装置、进棉口、出棉口、落杂箱、落杂小车(TF45A型无落杂小车)等组成,如图3—82和图3—83所示。
出棉口处的TF45—0000—3型方弯头采用不对称设计(图3—84),即其中一端有225mm长的直管。当该机与FA051A型凝棉器+TF2407A型支架装置+FA103A型双轴流开棉机配套使用时,按图3—85安装;当该机与FA051A型凝棉器+FAll3B(或FAll3C)型单轴流开棉机配套使用时,按图3—86安装。
(3)TF45系列重物分离器的技术规格(表3—32)。
表3—32TF45系列重物分离器的技术规格
产量(kg/h) |
1000 |
|
机幅(mm) |
800 |
|
进棉口直径(mm) |
350 |
|
出棉口直径(mm) |
350 |
|
外形尺寸 [长(mm)×宽(mm)×高(mm)] |
与FA051A型+TF2407A型+ FAl03A型连接 |
1050×808×39 95 |
与FA051A型+FAll3B型 (或FAll3C型)连接 |
1275×808×4220 |
|
重量(kg) |
约200 |
二、除微尘及异纤微尘分离机
1.FA151型除微尘机FA151型除微尘机主要适用于经充分开松的原棉,以除去其中的超短短绒及微尘等细小杂质,常作为开清棉流程的最后一个除杂点,特别适用于转杯纺纱和喷气纺纱的开清棉流程中,能有效提高生条及成纱的质量。
(1)FA151型除微尘机的主要特点:FA151型除微尘机具有结构简单、调整方便、去除微尘和超短短绒能力强等优点。纤维分配器能够将纤维均匀地喷洒到网眼板上,使该机的能力得到了充分的发挥。
(2)FA151型除微尘机的主要结构:本机型主要由纤维分配器、过滤网板、进棉风机、出棉风机、除尘风机、机架等组成,如图3—87所示。
①机架采用钢板焊接结构,通过撑档连接而成。
②进棉风机选用TV425A—4(L)型输棉风机,该输棉风机由机架、叶轮、电动机机架和电动机等组成。根据系统要求设定其风机转速。
③出棉风机选用TV425C—5—5(L)型输棉风机,该输棉风机由机架、叶轮、电动机底座、电动机和变频器等组成。
④过滤网板采用厚度为1.5mm的Q235—A型冷轧钢板,网孔直径为3mm,过滤网板总面积25754cm2。
⑤纤维分配器由纤维分配板、连杆机构、减速电动机等组成,分配板的摆动次数25-35次/min。
(3)FA151型除微尘机的主要技术规格(表3—33)。
表3—33FA151型除微尘机的主要技术规格
项目 |
<|
机幅(mm) |
1600 |
产量(kg/h) |
800 |
|
排风量(m3/h) |
4000 |
|
过滤网总面积(m2) |
2/6 |
|
纤维分配器 |
传动方式 |
电动机传动 |
摆动次数(次/min) |
25—35 |
|
装机功率(kW) |
9/62 |
|
外形尺寸[长(mm)×宽(mm)×高(mm)] |
2150×1864×2650 |
|
全机净重(kg) |
约2200 |
|
2.JWFl051型除微尘机JWFl051型是在FAl51型的基础上,优化棉流输送路线开发设计而成。它与FAl51型除微尘机一样,适用于经充分开松的原棉,以除去其中的超短短绒及微尘等细小杂质,常作为开清棉流程的最后一个除杂点,特别适用于转杯纺纱和喷气纺纱的开清棉流程中,能有效提高生条及成纱的质量。
(1)JWF1051型除微尘机的主要特点。
①该机进棉管道采用截面尺寸为1400mm×80mm的方形管道,与FA111型、FA109A型、FA112型、JWF1124型等型号辊筒清棉机的出棉口直接相连(图3—88),能够将纤维均匀地喷洒到网眼板上,提高对纤维中所含微尘和超短短绒的去除能力。
②使用本机时,纤维仅经过一个风机就能够被送到清梳联喂棉箱(图3—89),风机叶轮对纤维的损伤较小,适于纯棉精梳纱的流程减少棉结。
③JWF1051型除微尘机可单独使用,也可根据需要加装除异性纤维功能,即组合成JWF
(2)JWFl051型除微尘机的主要结构:本机主要由机架、进棉管道、出棉风机、排尘风机、过滤网板等组成(图3—90)。
①机架采用钢板焊接结构,通过撑档连接而成。
②出棉风机选用TV425C—5.5(1)型输棉风机,该风机与电动机直连,风机由变频器来实现变速。在调试时,应适当调节变频器频率,使纤维顺利吸到本机并输出。
③排尘风机选用TV425C—4(R)型输棉风机,该风机与电动机直连,风机由变频器来实现变速。生产时,可适当调节变频器频率,既能协助出棉风机一起将纤维从上道机器吸到本机,又能顺利的起到排尘作用。
④过滤网板采用厚度为1.5mm的Q235一A型冷轧钢板,网孔直径3mm,过滤网板总面积21900cm2。
(3)JWF1051型除微尘机的主要技术规格(表3—34)。
表3—34JWF1051型除微尘机的主要技术规格
项目 |
规格 |
机幅(mm) |
1600 |
产量(kg/h) |
800 |
进棉管截面尺寸[宽(mm)×高(mm)] |
1400×80 |
出棉管直径(mm) |
300 |
排尘管直径(mm) |
300 |
排尘风量(m3/h) |
4000 |
过滤网总面积(m2) |
2.2 |
装机功率(kW) |
9.2 |
外形尺寸[长(mm)×宽(mm)×高(mm)] |
1885×1864×26 90 |
全机净重(kg) |
约1500 |
3.JWF1051A型异纤微尘分离机
JWF1051A型异纤微尘分离机是在JWFl051型异纤微尘分离机的基础上采用国际上的最新研究成果设计开发而成。常用在纺棉清梳联流程中精开清棉机与清梳联喂棉箱之间,也可用在纺棉的成卷流程中,不仅可以有效去除经充分开松的纤维中的微尘和超短短绒,还能够去除棉纤维中的异物。
(1)JWF1051A型异纤微尘分离机的主要特点。
①本机不仅能去除纤维中的异性纤维,还具有去除纤维中微尘和超短短绒的功能,是一种多功能组合型的设备。也可根据需要,单独选择除异性纤维功能或除微尘和超短短绒功能(即JWF1051型除微尘机)。
②进棉管道和检测通道的截面尺寸均为1400mm×80mm,并且该方管道直接与清棉机出棉口连接,保证检测处的棉层薄且均匀,使检出异性纤维和去除微尘的效果更好。
③纤维由清棉机出棉口到清梳联喂棉箱只经过一个风机,减少了风机叶轮对纤维的损伤。
④本机采用高速扫描彩色CCD、专业镜头、工业级照明系统、高速实时图像采集DSIP处理系统、快速响应阀等。所有关键部件均系进口,确保能分检棉花中的异性纤维(丙纶丝、麻丝、头发及油花等)。
⑤本机设计结构紧凑,节省占地面积。
⑥本机设有异性纤维收集装置,无需另外安装异性纤维收集设备,方便用户使用。
(2)JWF1051人型异纤微尘分离机的主要结构:本机型主要由机架、进棉管道、异纤检测和喷出机构、皮翼打手和异性纤维收集箱、除尘网板、微尘短绒收集室、出棉风机、排尘风机、护栏等组成(图3—91)。
①机架采用钢板焊接结构,通过撑档连接而成。
②进棉管道采用1400mm×80mm的
③异纤检测部分主要由摄像机支架、照明系统和玻璃输棉通道等组成。检测系统采用德国进口高速扫描彩色线阵CCD(电荷耦合器件图像传感器),进口镜头,全套进口专业照明系统,技术先进,分辨率高,颜色对比度高,异纤检测灵敏,系统稳定可靠;高速实时图像采集处理系统采用当今国际最先进图像处理DSP(数字信号处理器)芯片,运算速度快,实时相应好,性能可靠。摄像机通过反光镜,透过玻璃对棉花进行扫描检测,照明系统提供给摄像机无频闪足够照亮的光源。为了保证摄像机能清晰准确地拍摄到通道里的棉花,摄像机镜头与棉流通道要平行,反光镜的角度要正确。执行部分采用美国进口快速响应气阀,计算机系统确保喷阀延时和持续时间连续可调,能精确的喷出棉花中的异性纤维。当摄像机扫描到异性纤维时,由工控机控制的电磁阀在规定的时间开启,上下阀板导通压缩空气进入下阀板,下阀板有112个小孔,一个电磁阀对应4个小孔,压缩空气从这些小空中喷出,将异性纤维喷到对面的通道进入异性纤维收集室。
④皮翼打手采用六叶翼片形式,由齿轮减速电动机带动。通过打手缓慢的转动,将吹下的异性纤维带到异性纤维收集箱,储存起来,然后定期清理。皮翼打手设计独特,能起到很好的密封作用,保证气压的稳定,从而避免好纤维的下落。
⑤除尘网板采用厚度为1.5mm的Q235—A型冷轧钢板冲制网孔而成,网孔直径为3mm,除尘网板面积达21900cm2。
⑥微尘短绒收集室将微尘、短绒收集到里面,由排尘风机将其排到滤尘室。
⑦出棉风机选用TV425C—5.5(L)型风机,该风机与电动机直连,风机由变频器来实现变速。在调试时,应适当调节变频器频率,使纤维顺利吸到本机并输出。
⑧
⑨护栏部分位于机器顶部,装卸方便。在对机器进行调试和日常维护时,能保证工作人员的人身安全。
(3)JWF1051A型异纤微尘分离机的主要技术规格(表3—35)。
表3—35JWF1051A型异纤微尘分离机的主要技术规格
项目 |
规格 |
|||
机幅(mm) |
1600 |
|||
产量(kg/h) |
600 |
|||
排风量(m3/h) |
4000 |
|||
过滤网总面积(m2) |
2.2 |
|||
剥棉打手 |
形式 |
六叶皮翼罗拉 |
||
直径(mm) |
350 |
|||
分辨率 |
水平方向 |
2048像素 |
||
垂直方向 |
每秒5000行 |
|||
压缩空气压力(MPa) |
0.5—0.6 |
|||
检测通道截面尺寸[长(mm)×宽(mm)] |
1400×60 |
|||
检出尺寸(cm2) |
深色异物面积,0.5cm2,浅色异物面积,1cm2 |
|||
灯管寿命(h) |
5000 |
|||
装机功率(kW) |
9.95 |
|||
外形尺寸[长(mm)×宽(mm)×高(mm)] |
3250×1864×3615 |
|||
全机净 重(kg) |
约2000 |
|||
三、FA051A系列凝棉器
本系列凝棉器有FA051A(5.5)型、FA051A(7.5)型、FA051A-120(5.5)型和FA051A-120(7.5)型等四种,适用于开清棉工艺流程中,凭借风机的抽吸输送经开松的各种等级的原棉、棉型化学纤维及其混合原料。纤维借风机的抽吸,凝聚在尘笼表面,被打手剥取落入与之配套设备的棉箱内,部分尘杂和短绒则进入尘笼内部,被送到滤尘机组。
(1)FA051A系列凝棉器的主要特点:FA051A系列凝棉器的风机位于其尘笼的侧下方,采用双进风风机从尘笼的两端同时吸风,而纤维由尘笼的中部喂人,这样就使尘笼表面纤维的凝聚非常均匀,提高了超短绒和微尘的去除能力,减少了纤维损伤和棉结的产生。
(2)FA051A系列凝棉器的主要结构:本机型由机架、风机、尘笼和打手等部分组成(图3—92)。
①机架由撑档、弧板与两侧墙板联接而成,两侧面罩壳用于支撑风机和尘笼,通过法兰与机架相连。
②风机由八片双进风径向直叶片和叶轮中间盘经铸铝成型,并与轴紧配形成一个整体,工作时没有轴向推力,风机蜗壳经两侧风管与机架左右墙板相连,通过两侧罩壳实现对两端吸风。
③尘笼由网眼板弯制而成,尘笼外圆与尘笼护板之间最小隔距4mm(进口),最大隔距12mm(出口)。尘笼两端采用双吸风双密封结构,不仅提高尘笼表面纤维凝聚横向均匀度,而且密封可靠,有效地防止纤维损伤。
④打手采用筒体和六个聚氨酯橡胶片结合而成,打手翼与尘笼表面隔距1-2mm,与打手护板隔距为1mm。
(3)FA051A系列凝棉器的主要技术规格(表3—36)。
表3-36FA051A系列凝棉器的主要技术规格
项目 |
规格 |
||||||
机型 |
FA051A (5.5) |
FA051A (7.5) |
FA051A-120 (5.5) |
FA051A-120 (7.5) |
|||
机幅(mm) |
1000 |
1200 |
|||||
最高产量(kg/h) |
800 |
1000 |
|||||
尘笼直径(mm) |
490 |
||||||
尘笼转速(r/min) |
113 |
||||||
打手直径(mm) |
300 |
||||||
打手转速(r/min) |
368 |
||||||
风机直径(mm) |
410 |
||||||
风机转速(r/min) |
1490、1670、1900,2130,2290,2420 |
||||||
总装机功率(kw) |
6.25 |
8.25 |
6.25 |
8.25 |
|||
外形轮廓尺寸 [长(mm)×宽(mm)×高(mm)] |
1440×1400×1025 |
1440×1600×1025 |
|||||
全机净重(kg) |
约600 |
约650 |
|||||
四、磁铁装置
1.TF27型桥式磁铁
TF27型桥式磁铁(图3—93)装有两组永久磁铁,磁铁块用稀土元素加工制作而成,磁力强,去除纤维中的铁磁性物质效果好。TF27型桥式磁铁可以安装在FA006C系列往复抓棉机、FA022系列多仓混棉机的出棉口处,也可安装在水平或竖直的输棉管道上。
2.TF31型磁铁装置
TF31型磁铁装置
3.TF34系列磁铁装置
TF34系列磁铁装置有TF34型和TF34A型两种。TF34型的机幅为1200mm,TF34A型的机幅为1600mm。TF34系列吸铁装置均设有一组永久磁铁,磁铁块用稀土元素加工制作而成,磁力强,去除纤维中的铁磁性物质效果好。TIB4系列吸铁装置与FA111系列、FA109系列、FA112系列、JWF1124系列辊筒清棉机及FA108E型、FA108G型等配套使用,安装在出棉口处。
五、两路配棉器
1.TF2202系列两路配棉器
TF2202系列两路配棉器有TF2202型和TF2202A型两种,主要用于将开清部分送来的纤维按梳棉机的用棉量分成两路供应给梳棉机的喂棉箱。TF2202型的壳体采用Q235一A型冷轧钢板喷粉件,适用于纺棉或棉麻混纺的流程。TF2202A型的壳体采用不锈钢件,适用于纺化学纤维的流程。
(1)TF2202系列两路配棉器的主要特点:TF2202系列两路配棉器设有压力表,方便观察和监控管道内压力是否合适及是否稳定。压力传感器与清梳联集中控制柜内的连续喂棉装置相连接,检测棉道内的压力变化,并将其转化为电压信号传递给连续喂棉装置,保证喂棉的稳定性。
(2)TF2202系列两路配棉器的主要结构:TF2202系列两路配棉器主要由壳体、风机、进棉口、出棉口、压力传感器、压力表等组成(图3—94)。
(3)TF2202系列两路配棉器的主要技术规格(表3—37)
项目 |
主要技术规格 |
|
机型 |
TF2202 |
TF2202A |
适用范围 < 棉、麻 棉、麻、化学纤维等 | ||
产量(kg/h) |
800 |
|
进棉管直径(mm) |
300 |
|
出棉管直径(mm) |
250 |
|
风机叶轮直径(mm) |
290 |
|
装机功率(kw) |
0.55 |
|
机器重量(kg) |
90 |
|
2.TF2212型两路配棉器
TK212型两路配棉器(图3—95)主要用在清梳联流程的开清部分,将输棉管道分成两路。该机在工作时由清梳联集中控制柜内的PLC控制,实现自动配棉。主要技术规格见表3—38。
表3-38TF2212型两路配棉器的主要技术规格
项目 |
主要技术规格 |
项目 |
主要技术规格 |
产量(kg/h) |
1200 |
活门控制形式 |
气动控制 |
进棉管直径(mm) |
300 |
机器重量(ks) |
80 |
出棉管直径(mm) |
300 |
|
|
3.TF41型三通配棉器
TF41型三通配棉器(图3—96)与梳棉机喂棉箱的配棉管道相连接,将配棉管道分成两路或由两路向梳棉机的棉箱喂棉。TF41型与TF2202型、TP42型配套使用,可实现梳棉机多路喂棉(参见图2—15),适用于小批量多品种的纺纱或试验流程。
六、管道用调节装置
1.TF36系列管道风量调节除尘器TF36系列管道风量调节除尘器有TF36和TF36A两种机型(图3—97),安装在清梳联流程中开清部分机台之间的输棉管道上,具有平衡前后
表3-39TF36系列管道风量调节除尘器的主要技术规格
项目 |
规格 |
|
机型 |
TF36 |
TF36A |
进棉口直径(mm) |
300 |
350 |
出棉口直径(mm) |
300 |
|
排尘口AR(mm) |
250 |
|
排尘风量(m3/h) |
Max:1500 |
Max:2000 |
网孔直径(mm) |
3 |
|
适纺原料 |
棉、麻 |
棉、麻、化学纤维 |
外形尺寸 [长(mm)×宽(mm)×高(mm)] |
1750×500×750 |
1600×600×750 |
TF36系列管道风量调节除尘器主要用于正压(静压)区的输棉管道中,其排尘口通过管道与滤尘机组相连接为负压。由图3—39可以看出,当纤维随正压气流通过该机进棉口到达网眼管后,网眼管的内部为正压而外部为负压,使得输送纤维的部分气流及部分短纤维、微尘等穿过直径φ3mm的网孔进入排尘管内,通过管道输送最终进入滤尘机组。
2.TF38系列管道压力调节器
TF38系列管道压力调节器(图3—98)安装在连接管道上,用于调节前后机台连接管道的
表3-40TF38系列管道压力调节器对应的连接管道直径
型号 |
连接管道直径(mm) |
型号 |
连接管道直径(mm) |
TF38一I |
300 |
TF38一Ⅷ |
440 |
TF38一Ⅱ |
250 |
TF38一Ⅸ |
500 |
TF38一Ⅲ |
350 |
TF38一X |
560 |
TF38一Ⅳ |
360 |
TF38一Ⅺ |
280 |
TF38一V |
380 |
TF38一Ⅻ |
200 |
TF38一Ⅵ |
400 |
TF38一Ⅷ |
220 |
TF38一Ⅶ |
390 |
|
|
由图3—98可以看出,伸缩管3可以在出棉管1内滑动,且伸缩管3与接管4之间的开口大小决定了外界补风量的多少。当开口较小时补风量也较少,出棉口1处和进棉口5处的风量相差不大,这时其压力也相差不大;当开口较大时补风量也较多,出棉口1处和进棉口5处的风量相差较大,这时其压力也相差较大。TF38系列管道压力调节器只能用于负压(静压)区的管道上
3.TF40型气流平衡装置
TF40型气流平衡装置(图3—99)安装在首台梳棉机配棉头之前,能够排除部分气流,还可以去除纤维中部分短绒、微尘及细小杂质。当梳棉机的配台数少于6台时建议使用,特别是仅用一台风机既要满足清棉机的风量和风压要求,又要满足梳棉机配棉道的风量和风压要求时使用。
4.TF42型摇摆阀
TF42型摇摆阀(图3—100)用在梳棉机配棉头的两侧,与配棉管道相连接,须成对使用。该装置可以将管道分成两个部分,使梳棉机的配棉方式增多,一般在多品种纺纱时使用,请参考图2—3和图2—15。
相关信息 







推荐企业
推荐企业
推荐企业