剑杆引纬的方式和特点
剑杆引纬方式是利用剑状杆在梭口中往复移动,由剑状杆的剑头叉入或握持纬纱,将梭口外侧固定在筒子上的纬纱引入梭口。剑杆引纬原理最早在无梭织机引纬中提出,起初是单剑杆引纬,以后又发明了双剑杆引纬,自20世纪50年代开始,各种剑杆织机相继投入使用,目前已发展成为无梭织机中应用最广泛的机型。
与其他引纬方式相比,剑杆引纬属于积极引纬方式,纬纱始终处于剑头的控制之下,因此具有引纬质量可靠、加工范围广、噪声低、适合宽幅织造等特点;而且剑头的通用性较好,可以夹持不同原料、不同粗细的纬纱,不需要更换剑头;剑杆织机还具有轻巧的选纬功能,能方便地进行8色(最多达16色)换纬,在多色纬纱织造方面,更能显示它的优越性。
因此,剑杆织机在品种适应能力方面明显优于其他几种无梭织机,随着它性能的日趋完善,目前剑杆织机广泛应用在装饰织物、毛织物、棉型色织物、毛圈织物、双层起绒织物及产业纺织品等加工领域,被认为是织制中小批量、品种翻改频繁的花色织物所通用的、最可靠的织机。
一、剑杆引纬的方式和特点
随着机械生产技术和加工材料的变革,产生了很多形式的剑杆弓纬机构,按照剑杆数量的配置、纬纱交接形式、剑杆的刚挠性、传剑机构的位置等主要特征,剑杆引纬分下面几种类型。
(一)剑杆数量的配置
按剑杆数目的不同分为单剑杆引纬、双剑杆引纬和双层剑杆引纬。
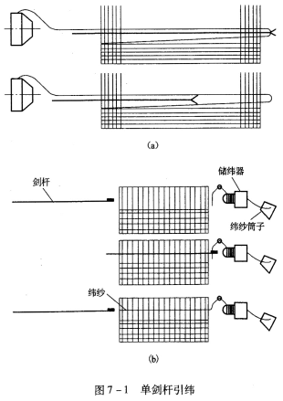
1.单剑杆引纬仅在每台织机的一侧安装略大于布幅宽度的长剑杆及其传剑机构,如图7-1所示。剑杆把纬纱从梭口一侧送到另一侧,如图7—1(a);或以空程伸入梭口到对侧握持纬纱后,在退剑的过程中将纬纱从梭口拉出,完成引纬动作,如图7—1(b)。
这种引纬形式,纬纱在梭口中央不经历交接过程,剑头结构简单,但引纬过程中,剑杆需要伸进、退出整个梭口,引纬动程大,不利于织机速度的提高,目前仅应
2.双剑杆引纬织机的两侧分别安装送纬剑杆和接纬剑杆及各自的传剑机构。引纬时,送纬剑和接纬剑从两侧向梭口中央运动,如图7-2所示,送纬剑负责将纬纱从供纬侧送到梭口的中央,然后交付给也已经运动到梭口中央的接纬剑上,两剑杆再各自退回,由接纬剑将纬纱拉出梭口,完成一次引纬。
采用双剑杆引纬,每个剑杆仅移动约半幅织物的宽度,引纬时间相对缩短,便于织机的高速和宽幅,且纬纱在梭口中央的交接技术已很成熟,极少失误,因此这种引纬方式目前已在剑杆织机上广泛采用。
相关信息 







推荐企业
推荐企业
推荐企业