双层剑杆引纬及纬纱交接形式
1.双层剑杆引纬
双层剑杆织造时,经纱形成上下两层梭口,同一侧的上、下两根剑杆(多为刚性剑杆)由同一套传剑机构来传动,一次引入上、下两根纬纱,如图7—3所示。
这种引纬方式适用于加工双层起绒织物。实践证明,用双层剑杆的绒织机生产长毛绒、丝绒、棉绒、地毯等绒织物,不仅劳动生产率大幅提高,而且加工的绒织物手感、外观良好,克服了用单梭口织制的绒类织物产生的毛背疵病。
根据双剑杆引纬时,送纬剑与接纬剑在梭口中央交接纬纱的方式不同,分为夹持式引纬和叉入钩出式引纬两种。
2.夹持式引纬
送纬剑和接纬剑的剑头分别是可打开或夹持纬纱的叉形钳口和钩形钳口,进剑过程中,纬纱在张力作用下滑人送纬剑的钳口,由纬纱剪刀将钳口与布边之间相连的纬纱剪断,送纬剑夹持着纬纱的纱端到达梭口中央与接纬剑相遇,纬纱自动滑人接纬剑的钳口中,再由接纬剑夹持引出梭口。纬纱的交接过程如图7—4所示,图7-4(a)是交接前纬纱由送纬剑的钳口夹持的情况,图7—4(b)是交接中两剑头有一定的重叠动程,图7—4(c)是交接后两剑杆回退时接纬剑夹持着纬纱。
夹持式引纬是线状引纬,每次引入单根纬纱,纬纱与剑头之间元摩擦,可适合各种纬纱引入,因而有着广泛的应用。
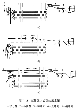
3.叉入式引纬
叉入式剑杆引纬的特点是送纬剑与接纬剑之间以纱圈形式交接纬纱,又称圈状引纬。叉入式引纬的剑头结构简单,但引纬时纬纱在送纬剑剑头的叉口及接纬剑剑头的钩端高速滑过,会受到很大的磨损。另外,纬纱从储纬器上退绕下来的速度等于剑杆速度的两倍,附加的纬纱张力很大,不利于织机的高速运转。
图7—5所示是双纬叉入式引纬的过程。送纬剑头呈叉状,接纬剑头为钩状,纬纱以圈状挂在送纬剑的叉口中被送人梭口;在梭口中央,纬纱圈滑入接纬剑的钩头中,接
相关信息 







推荐企业
推荐企业
推荐企业