纺机网技术中心

您所在的位置:纺机网>>纺织工业技术中心>>纺织学院技术列表
纺织学院技术列表

喂棉机构的分析

喂棉机构的分析 精梳机的喂棉部分包括承卷罗拉、给棉罗拉及其传动机构。其作用是在每一个工作循环中喂给一定长度的棉层,供锡林梳理。 (一)喂棉机构 1、承卷罗拉   承卷罗拉有两种回转

直型毛精梳机

直型毛精梳机 为单眼直型式,可将20根(只)左右筒装毛条或毛球直接喂入 羊毛纤维比棉纤维长而弹性好,因此,有些机构与棉精梳机不尽相同。 结构及功能: ①喂给机

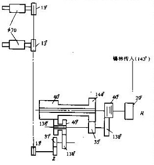
直型棉精梳机

直型棉精梳机 常用形式为每台6眼和8眼,即每台精梳机输出6或8组粗梳棉网,经牵伸后制成一根精梳条。 基本结构: 传动置于机器头部,分梳、拔取机构各眼并列设在机器中部,牵伸、圈条机构一般都在机器尾部。

直型与棉型精梳机的工艺过程及运动配合

直型与棉型精梳机的工艺过程及运动配合 一、直型精梳机工艺过程与运动周期 (一)毛型精梳机的工艺过程及运动周期 1.组成 喂入机构:包括条筒喂入架、导条板、喂给罗拉、给进盒、给进梳。

当前国内外剑杆织机的技术水平与发展趋向

当前国内外剑杆织机的技术水平与发展趋向 随着我国加入WTO后,企业体制的进一步深入改革,我国纺织行业正面临前所未有的机遇与挑战,竞争的焦点将是产品结构的调整、产品档次和品质水平的提高。用新的科学技术改造传统的工艺

当前国内外剑杆织机及配套器材的技术水平

当前国内外剑杆织机及配套器材的技术水平   剑杆织机是当今无梭织机应用中数量最多的一种织机。在无梭织机中,剑杆织机是织制小批量、中批量、品种翻改频繁的花色织物的通用和最可靠

典型织机的引纬和打纬机构特征

典型织机的引纬和打纬机构特征 (一)SometSM系列和THEMA11系列剑杆织机 采用挠性夹持式双剑杆引纬方式,打纬机构采用共轭凸轮传动,筘座在后止点静止时期较长,大约占主轴转角的230°,故采用

对剑杆引纬运动的工艺要求及引纬参数的确定

对剑杆引纬运动的工艺要求及引纬参数的确定 一、对剑杆引纬运动的工艺要求 (一)剑杆运动的速度 剑杆运动速度的规律如图7—12所示,在剑杆向梭口内运动起始处,送纬剑和接纬剑运

几种典型剑杆织机的工艺参数实例

几种典型剑杆织机的工艺参数实例 一、SolnetTHEMAⅡ型剑杆织机的上机工艺实例 1.纯棉牛仔布58.3tex×58.3tex,305根/1Ocmx200根/10cm,160c

剑杆的刚挠性及传剑机构的位置

剑杆的刚挠性及传剑机构的位置 (一)剑杆的刚挠性 按剑杆的刚挠性不同,分为刚性剑杆和挠性剑杆。 1.刚性剑杆刚性剑杆由剑头和剑杆组成,剑杆为刚性的空心细长杆,截面呈圆形或长方形,选用质

剑杆引纬的方式和特点

剑杆引纬的方式和特点 剑杆引纬方式是利用剑状杆在梭口中往复移动,由剑状杆的剑头叉入或握持纬纱,将梭口外侧固定在筒子上的纬纱引入梭口。剑杆引纬原理最早在无梭织机引纬中提出,起初是单剑杆引纬,以后又发明了双剑杆引纬,

剑杆引纬的工艺原理

剑杆引纬的工艺原理 (一)引纬过程 夹持式挠性剑杆织机的引纬过程如图7—8所示。 图7—8(a)中,从纬纱筒子上退绕下来的纬纱2首先卷绕在储纬器1上,在引纬时,

剑杆引纬概述

剑杆引纬概述 剑杆(rapier)引纬是以剑杆头作为引纬器握持纬丝,在剑杆的推动下穿越梭口,将纬丝引入梭口,使经纬交织成织物。 一、剑杆引纬的特点 剑杆引纬中,使用剑杆头夹持纬丝,纬丝处于受控状态
关于纺织机械 | 网络推广 | 栏目导航 | 客户案例 | 影视服务 | 纺机E周刊 | 广告之窗 | 网站地图 | 友情链接 | 本站声明 |

服务热线:027-8787 4011  服务传真:027-8725 5755

24小时客服:180 8600 9449 189 7135 6279  QQ:3352234307 3186169641

邮 箱:ttmn@ttmn.com 版 权:Copyright © 2017 纺织机械 WWW.TTMN.COM

工博网 经营许可 武汉网监局 不良信息举报中心