纺机网技术中心

您所在的位置:纺机网>>纺织工业技术中心>>纺织学院技术列表
纺织学院技术列表

喷气引纬

喷气织机的引纬方法是用压缩气流牵引纬纱,将纬纱带过梭口。喷气引纬的原理早在1914年就由Brooks申请了专利,但直到1955年的第二届ITMA上才展出了样机,其筘幅也只有44cm。喷气织机真正成熟是在此二十多年之后。之

喷水引纬

喷水织机是继喷气织机问世后不久出现的又一种无梭织机,由捷克人斯瓦杜(Svaty)发明,1955年第二届ITMA上第一次展出了喷水织机。 喷水织机和喷气织机一样,同属于喷射织机,区别仅在于喷水织机

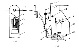
无梭引纬的辅助装置

在有梭织机上,随着梭子被反复投射,引入织物中的纬纱是连续的,选择适当的经、纬纱交织方式(边组织)可以形成优良的织物布边。无梭引纬代替有梭引纬后,其引纬方式发生改变的同时,纬纱在织物中的形态也发生变化,纬纱在布边处不连续,

整经

整经 整经是按照工艺设计的要求,将一定根数的经纱按规定的长度和幅宽排列顺序,以均匀的张力平行卷绕在经轴或织轴上的工艺过程。整经工序使经纱卷装由络筒筒子变成经轴或织轴。所谓经轴,是指需要再通过浆纱

整经机筒子架

筒子架 整经机由筒子架和机头两大部分组成。筒子架放置在整经机的后方,具有放置整经所用的筒子、调节经纱张力、控制停车距离、缩短换筒停机时间等多项功能。由筒子架所能引出的经纱最多根数称为筒子架容量,筒子架上一般还有纱线张力

整经机张力装置

张力装置 整经筒子架上张力装置的一个作用是给纱线以附加张力,使经轴获得良好成形和较大的卷绕密度;另一个作用是调节片纱张力,即根据筒子在筒子架上的不同位置,分别给以不同的附加张力,抵消因导纱状态不同产

整经工艺与质量控制

整经工艺与质量控制 一、分批整经工艺 (一)分批整经工艺流程 图2—12所示为分批整经的工艺流程简图,锥形筒子1放置在筒子架上,经纱从筒子l上引出,经过筒子架上的张力器、导纱部件及断头

整经卷绕

整经卷绕 一、分批整经卷绕 分批整经时,片纱密度较稀(一般为4~6根/cm),为使经轴成形良好,分批整经按一很小的卷绕角卷绕,接近于平行卷绕方式,对卷绕过程的要求是整经张力和

整经张力

整经张力 整经筒子上的纱线一般为轴向退解,通过张力器、导纱部件、断纱自停装置直至卷绕到整经轴(或整经大滚筒)上,经受了由气圈运动、张力装置、导纱部件、空气阻力等产生的机械作用,使纱线张力逐步增加,达到

整经断头自停装置

整经断头自停装置 一般筒子架上每锭都配有断头自停装置,整经断头自停装置的作用是当经纱断头时,立即向整经机车头控制部分发信号,由车头控制部分立即发动停车。高速整经机对断头自停装置的灵敏度提出

浆纱

浆纱 浆纱一贯被视为织部生产中一道最关键的工序,有“浆纱一分钟,布机一个班”的评论。未经上浆的经纱表面毛羽突出,纤维问的抱合力不足。而织造过程中,从织轴上退绕下来的单位长度经纱到形成织物,要

浆纱浆料

浆料 调制浆液的各种材料,简称浆料,浆料可分为黏着剂和助剂。 黏着剂是调制浆液的基本材料,称为主浆料,是提高经纱(丝)织造性能的主要黏着材料。助剂是为改善或弥补黏着剂某些方面性能的不足所用的辅助材

浆纱浆液配方与调制

浆液配方与调制 随着上浆要求的不断提高,使用单独的一种浆料往往难以满足经纱上浆的各项要求,一般都由两种或两种以上的浆料混合,再进行合理的配比才能基本满足生产要求。确定浆液配方应遵循两个原则: (1)浆料配合的种类以少
关于纺织机械 | 网络推广 | 栏目导航 | 客户案例 | 影视服务 | 纺机E周刊 | 广告之窗 | 网站地图 | 友情链接 | 本站声明 |

服务热线:027-8787 4011  服务传真:027-8725 5755

24小时客服:180 8600 9449 189 7135 6279  QQ:3352234307 3186169641

邮 箱:ttmn@ttmn.com 版 权:Copyright © 2017 纺织机械 WWW.TTMN.COM

工博网 经营许可 武汉网监局 不良信息举报中心