纺机网技术中心

您所在的位置:纺机网>>纺织工业技术中心>>纺织学院技术列表
纺织学院技术列表

涡流对纱条的加捻应用

涡流纺纱器的结构参数 前已叙述,涡流纺纱器由涡流管、纺纱器堵头、涡流管上纤维输送孔和进风孔组成,如图5—1所示。 1.纤维输送孔7 纺纱器内纱尾环的相对位置(即是纺纱位置)对成纱质量(条

涡流纺简述之先进的纺纱工艺

 涡流纺简述之先进的纺纱工艺 纺织服装工程研究所 教授级高工 侯国兴    纵观当今世界的纺纱技术,在传统的环锭纺基础上,

涡流纺纱的概况

涡流纺纱的概况   涡流纺纱简介 自由端纺纱方法之一。靠涡流作用使开松成单根状态的纤维凝聚和加拈成纱。由于用涡流代替机械的加拈和凝聚作用而不需要回转的机件,因而结构简单,纺纱速度较高,一般可比环锭

涡流纺纱的技术经济分析和展望

涡流纺纱的技术经济分析和展望 一、涡流纺纱的特点 涡流纺纱与其他新型纺纱具有同样的特点,即产量高、工序少、卷装大、劳动生产率高。除此以外,由于涡流纺是负压纺纱,排到空气中的灰尘、飞花很少,

涡流纺纱的适纺性介绍

涡流纺纱的适纺性介绍 1.适纺原料 根据涡流纺纱的成纱机理可知,它对比较细而柔软的纤维适纺性好,对粗硬的纤维适纺性差。所用原料以合成化纤和粘胶纤维为主,对纤维的适应性以腈纶为最好。粘胶、富纤、涤纶、维纶

涡流纺纱方法发展前景优势明显

涡流纺纱方法发展前景优势明显 涡流纺纱是利用固定不动的涡流纺纱管,来代替高速回转的纺纱杯进行纺纱的一种新型纺纱方法。从某种意义上说,涡流纺纱才是真正意义上的气流纺纱。纤维条由给棉罗拉喂入

涡流纺纱技术的发展

   涡流纺纱技术的发展  MJS喷气纺纱体系对纤维长度的适应性都比环锭纱及转杯纱差,只能加工生产纯涤纶等等长度的化纤纱或者生产涤棉等混纺纱,不能够生

涡流纺纱器的结构参数

涡流纺纱器的结构参数 前已叙述,涡流纺纱器由涡流管、纺纱器堵头、涡流管上纤维输送孔和进风孔组成,如图5—1所示。 1.纤维输送孔7 纺纱器内纱尾环的相对位置(即是纺纱

涡流纺纱原理之涡流场内压力、速度分布

涡流纺纱原理之涡流场内压力、速度分布 在圆形管道内形成涡流的方法有两种:一是在高压气体作用下,气流沿切线方向射入管道内,形成螺旋气流,一边绕轴心旋转,一边向出口推进(喷气纺纱);第二种方法是用低真空抽引管道

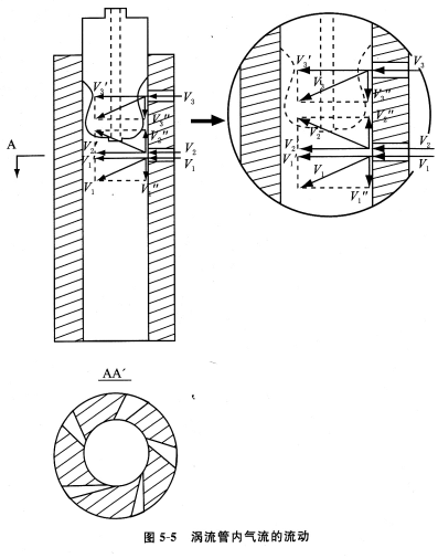
涡流管内气流的流动原理分析

涡流管内气流的流动原理分析 涡流纺纱器由纺纱堵头11、涡流管18及涡流管上面的纤维输送孔7和进风孔8等组成(见图5—1)。涡流管内气流的流动如图5—5所示。

涡流纱的产品介绍及适用范围

涡流纱的产品介绍及适用范围 1.起绒织物是涡流纱的一大特点和优势 虽然涡流纱的单强比环锭纱低20%~40%,但起绒后的织物强力却接近环锭纱织物起绒后的强力。这是因为:涡流纱中的打圈纤维多且打圈纤维的头尾端均缠

涡流纱的结构性能介绍

涡流纱的结构性能介绍 1.纱体中纤维形态 如前所述,纤维在涡流管内受涡流推动而高速回转,形成似圆形的纱尾环。 单纤维从输送孔进入涡流管,先碰撞到纺纱堵头处的管壁而弯曲,再下

展会中的新型纺纱机(涡流喷气纺纱机)介绍

展会中的新型纺纱机(涡流喷气纺纱机)介绍 涡流喷气纺纱机    日本村田株式会社展出NO.810涡流喷气纺纱机,该机与以往几届展出的最大区别在喷嘴部位,它在喷嘴内形成旋转涡
关于纺织机械 | 网络推广 | 栏目导航 | 客户案例 | 影视服务 | 纺机E周刊 | 广告之窗 | 网站地图 | 友情链接 | 本站声明 |

服务热线:027-8787 4011  服务传真:027-8725 5755

24小时客服:180 8600 9449 189 7135 6279  QQ:3352234307 3186169641

邮 箱:ttmn@ttmn.com 版 权:Copyright © 2017 纺织机械 WWW.TTMN.COM

工博网 经营许可 武汉网监局 不良信息举报中心