纺机网技术中心

您所在的位置:纺机网>>纺织工业技术中心>>纺织学院技术列表
纺织学院技术列表

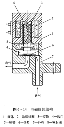
气阀

气阀 控制主、辅喷嘴定时喷射的部件是气阀,气阀按其驱动原理分为机械阀和电磁阀两类。前者用控制凸轮来完成气阀的启闭;后者则以算机的指令,由电子脉冲讯号转换成阀门的开闭动作来完成。机械阀的调整不便,易磨损,控制气流的

气流速度、纬纱速度及纬纱运动规律

气流速度、纬纱速度及纬纱运动规律 (一)气流速度与纬纱速度的关系 纬纱在梭口中的飞行状态取决于原纱条件、退绕张力、主喷嘴和辅助喷嘴的供气压力和启闭时间、辅助喷嘴的安装间距和安装高度以及喷射

上机张力及纬纱飞行时间(飞行角)

上机张力及纬纱飞行时间(飞行角) 一、上机张力 上机张力是指织机综平时经纱的静态张力,它是经纱在各个时期所具有张力的基础。适当的经纱张力是开清梭口和打紧纬纱的必要条件,应根据织物的结构和质量要求以及织前准备的

提高纬纱纤维抱合力的必要性

提高纬纱纤维抱合力的必要性 新型喷气织机的优势和提高综合经济效益,还需要作大量艰苦细致的工作。虽然在购买设备时,设备供应商都会对如何提高设备运转效率提出建议,国内生产企业在实践中也总结了很多经

纬纱冲击张力峰值的理论

纬纱冲击张力峰值的理论 通过测量喷气织机引纬过程中纬纱飞行中的实际动态张力,发现引纬过程中纬纱所承受的张力并不大Œ而在引纬结束时纬纱张力存在峰值Œ此张力峰值可接近或达到纬纱的强度Œ造

纬纱动态张力的变化规律

纬纱动态张力的变化规律 喷气织机的高入纬率对纬纱张力提出了严格要求,引纬时纬纱应保持均匀和较小的张力以及适宜的张力峰值,这对减少织机停台、保证织物的质量是十分重要的。 在主轴回转一周的过程

纬纱张力峰值的计算与测试

纬纱张力峰值的计算与测试 因为引纬结束时的纬纱速度不易获得,为了方便计算,使用平均引纬速度代替V0,则ˆ‘‘‰ 式可变为š 由于织机转速!上机筘幅和纬纱通

虚拟仪器的织机纬纱张力测试新方法之系统组成及传感器

虚拟仪器的织机纬纱张力测试新方法之系统组成及传感器 以前,纬纱张力的测试多采用动态电阻应变仪,利用光线示波器进行记录,工作复杂,且结果精度和准确性难以令人满意。提出对纺纱张力测试采用应变电桥、

异形筘与管道片及供气系统

异形筘与管道片及供气系统 1.异形筘与管道片 异形筘(reedwithwefttunnel)与管道片(confuser)能形成限制射流扩散的引纬通道,但两者形状与性能差异很大,导致了适应性不同。

针织布面疵点

针织布面疵点 一、 针织布面疵点的分类标准:        大肚纱比原纱粗两倍,在针织物上跳针在3圈及

针织布面棉结纱及针织布面毛羽的控制

针织布面棉结纱及针织布面毛羽的控制 1、针织布面棉结纱的控制 细纱产生的棉结纱是由于纱被刮毛的散纤维,缠结在纱线而形成的,其原因有3个方面: 一是钢铃钢丝圈磨损后未经调换,如钢铃跑道工作面擦伤,碰痕,裂纹

针织布面纱疵的控制

针织布面纱疵的控制(一) 1、专访用户、反馈布面质量信息 FZ/T71005---2006针织用棉本色纱标准,已不能全面适应针织用纱质量需求,条干均匀度cv%较好,也有可能十万米纱疵较多而

主喷嘴+管道片式引纬系统

主喷嘴+管道片式引纬系统 采用射流牵引纬纱穿过梭口的无梭织机称为喷射织机,喷射织机又分为喷气织机和喷水织机,喷气织机是依靠高速气流与纬纱间产生的摩擦力牵引纬纱穿过梭口。喷气织机的历史起源于1914年美国人勃洛克取
关于纺织机械 | 网络推广 | 栏目导航 | 客户案例 | 影视服务 | 纺机E周刊 | 广告之窗 | 网站地图 | 友情链接 | 本站声明 |

服务热线:027-8787 4011  服务传真:027-8725 5755

24小时客服:180 8600 9449 189 7135 6279  QQ:3352234307 3186169641

邮 箱:ttmn@ttmn.com 版 权:Copyright © 2017 纺织机械 WWW.TTMN.COM

工博网 经营许可 武汉网监局 不良信息举报中心